UCD74120 Datasheet by Texas Instruments

i TEXAS ‘ INSTRUMENTS
An IMPORTANT NOTICE at the end of this data sheet addresses availability, warranty, changes, use in safety-critical applications,
intellectual property matters and other important disclaimers. PRODUCTION DATA.
UCD74120
SLUSAV8 –OCTOBER 2012
High-Current, Synchronous Buck Power Stage
Check for Samples: UCD74120
1
1 FEATURES
1 Integrates Synchronous Buck Driver and
NexFET™ Power MOSFETS for High Power
Density and High Efficiency
25-A Output Current Capability for DSP and ASIC
4.7-V to 14-V Input Voltage Range
Operational up to 2 MHz Switching Frequency
Built-In High-Side Current Protection
DCR Current Sensing for Overcurrent Protection
and Output Current Monitoring
Voltage Proportional to Load Current Monitor
Output
Tri-state PWM Input for Power Stage Shutdown
UVLO Housekeeping Circuit
Integrated Thermal Shutdown
40-Pin, 5 mm x 7 mm, PQFN PowerStack™
Package
2 APPLICATIONS
Digital or Analog POL Power Modules
High Power Density DC-DC Converters for
Telecom and Networking Applications
3 DESCRIPTION
UCD74120 is a multi-chip module integrating a driver
device and two NexFET power MOSFETs into a
thermally enhanced compact, 5 mm × 7 mm, QFN
package. A 25-A output current capability makes the
device suitable for powering DSP and ASIC. The
device is designed to complement digital or analog
PWM controllers. The PWM input of the driver device
is 3-state compatible. Two driver circuits provide high
charge and discharge current for the high-side N-
channel FET switch and the low-side N-channel FET
synchronous rectifier in a synchronous buck
converter.
Output current is measured and monitored by a
precision current sensing amplifier that processes the
voltage present across an external current sense
element. The amplified signal is available for use by
the PWM controller on the IMON pin. On-board
comparators monitor the voltage across the high-side
switch and the voltage across the external current
sense element to safeguard the power stage from
sudden high-current loads. Blanking delay is set for
the high-side comparator by a single resistor in order
to avoid false reports coincident with switching edge
noise. In the even of a high-side fault or an
overcurrent fault, the high-side FET is turned off and
the fault flag (FLT) is asserted to alert the PWM
controller.
‘5‘ TEXAS INSTRUMENTS
FLT
IMON
UCD74120
SRE_MD
BP3
ILIM
RDLY
AVGG
VGG_DIS AGND PGND
HS_SNS
VIN
BOOT
SW
CSP
CSN
VGG
SRE PWM VDD
To
Controller
VIN
VOUT
From
Controller
UDG-11281
2
UCD74120
SLUSAV8 –OCTOBER 2012
www.ti.com
Product Folder Links: UCD74120
Submit Documentation Feedback Copyright © 2012, Texas Instruments Incorporated
3.1 APPLICATION DIAGRAM
These devices have limited built-in ESD protection. The leads should be shorted together or the device placed in conductive foam
during storage or handling to prevent electrostatic damage to the MOS gates.
(1) For the most current package and ordering information, see the Package Option Addendum at the end
of this document, or see the TI website at www.ti.com.
ORDERING INFORMATION(1)
TEMPERATURE
RANGE PINS PACKAGE ORDERING NUMBER
–40°C to 125°C 40 RVF UCD74120RVF
(1) Stresses beyond those listed under “absolute maximum ratings” may cause permanent damage to the device. These are stress ratings
only and functional operation of the device at these or any other condition beyond those included under “recommended operating
conditions” is not implied. Exposure to absolute-maximum-rated conditions for extended periods of time may affect device reliability.
3.1 ABSOLUTE MAXIMUM RATINGS
over operating free-air temperature range (unless otherwise noted)(1)
VALUE UNIT
MIN MAX
Voltage range
VDD, VIN –0.3 16 V
SW DC –1 16 V
SW Pulse < 400 ns, E = 20 µJ –2 20 V
SW Pulse < 64 ns –5 22 V
SW Pulse < 40 ns –7 25 V
VGG, AVGG (Externally supplied) –0.3 7 V
BOOT DC –0.3 23 V
BOOT Pulse (SW at 20 V < 400 ns) –0.3 27 V
BOOT Pulse (SW at 22 V < 64 ns) –0.3 29 V
BOOT Pulse (SW at 25 V < 40 ns) –0.3 32 V
ILIM, VGG_DIS, IMON, FLT –0.3 3.6 V
CSP, CSN, RDLY, PWM, SRE, SRE_MD –0.3 5.6 V
HS_SNS –0.3 16 V
Temperature TJ–40 150 °C
Tstg –55 150 °C
l TEXAS INSTRUMENTS
3
UCD74120
www.ti.com
SLUSAV8 –OCTOBER 2012
Product Folder Links: UCD74120
Submit Documentation FeedbackCopyright © 2012, Texas Instruments Incorporated
(1) For more information about traditional and new thermal metrics, see the IC Package Thermal Metrics application report, SPRA953.
3.2 THERMAL INFORMATION
THERMAL METRIC(1) UCD74120
UNITS
PQFN (RVF) 40-
PIN
θJA Junction-to-ambient thermal resistance 28.9
°C/W
θJCtop Junction-to-case (top) thermal resistance 15.4
ψJT Junction-to-top characterization parameter 0.2
ψJB Junction-to-board characterization parameter 5.1
θJCbot Junction-to-case (bottom) thermal resistance 0.8
l TEXAS INSTRUMENTS
4
UCD74120
SLUSAV8 –OCTOBER 2012
www.ti.com
Product Folder Links: UCD74120
Submit Documentation Feedback Copyright © 2012, Texas Instruments Incorporated
3.3 RECOMMENDED OPERATING CONDITIONS
MIN TYP MAX UNIT
VDD, VIN 4.7 14 V
VGG, AVGG Externally supplied gate drive voltage 4.6 6.5 V
TJOperating junction temperature –40 125 °C
3.4 ELECTROSTATIC DISCHARGE (ESD) PROTECTION
MIN TYP MAX UNIT
Human body model (HBM) 1.5 kV
Charge device model (CDM) 500 V
l TEXAS INSTRUMENTS
5
UCD74120
www.ti.com
SLUSAV8 –OCTOBER 2012
Product Folder Links: UCD74120
Submit Documentation FeedbackCopyright © 2012, Texas Instruments Incorporated
(1) Ensured by design. Not production tested.
3.5 ELECTRICAL CHARACTERISTICS
TJ= –40°C to 125°C, VVDD, VVIN = 12 V, all parameters at zero power dissipation (unless otherwise noted)
PARAMETER TEST CONDITIONS MIN TYP MAX UNIT
INPUT SUPPLY
VVIN Input supply voltage range 4.7 14 V
VVDD
IVDD Supply current Not switching, PWM = LOW 8 10 mA
GATE DRIVE UNDER-VOLTAGE LOCKOUT
VGG-ON UVLO on voltage 4.4 4.6 V
VGG-OFF UVLO off voltage 4.1 4.3 V
VGG-HYS UVLO hysteresis voltage 80 mV
VGG SUPPLY GENERATOR
VGG Output voltage VVIN = 12 V, IGG = 50 mA 5.3 6.0 6.8 V
VDO Dropout voltage, VVDD – VGG VVIN = 4. 7V, IGG = 50 mA 350 mV
BP3 REGULATOR
VBP3 Output voltage VVIN = 12 V, IBP3 = 2 mA 3.0 3.2 3.3 V
DIGITAL INPUT SIGNALS (PWM, SRE)
VIH-PWM Positive-going input threshold voltage 1.8 2.1 V
VIL-PWM Negative-going input threshold voltage 0.8 0.9 V
PWM Input voltage hysteresis, (VIH – VIL) 0.9 V
VIH-SRE Positive-going input threshold voltage 1.5 1.7 V
VIL-SRE Negative-going input threshold voltage 0.9 1.0
SRE Input voltage hysteresis, (VIH – VIL) 0.45 V
IPWM Input current
VPWM = 5 V 140
µAVPWM = 3.3 V 70
VPWM = 0 V –63
ISRE Input current
VSRE = 5 V 190
µAVSRE = 3.3 V 12
VSRE = 0 V –330
tHLD-R (1) tri-state hold-off time VPWM transition from 0 V to 1.65 V,
time until low-side drive falls to 0 V 450 600 750 ns
OUTPUT CURRENT LIMIT (ILIM)
RILIM-IN(1) ILIM input impedance 250 k
VILIM ILIM set point range 0.5 3 V
VFLT-HI FLT output high level ILOAD = –2 mA 2.7 3.3 V
VFLT-LO FLT output low level ILOAD = 2 mA 0.1 0.6 V
tFAULT-FLT(1) Fault detection time. Delay until FLT
asserted VILIM = 1.5 V, (VCSP - VCSN) = 20 mV,
VCSN = 1.8 V 350 475 ns
tDLY(1) Propagation delay from PWM to reset FLT PWM falling to FLT falling after a current limit
event is cleared. PWM pulse width 100 ns 85 200 ns
CURRENT SENSE BLANKING (RDLY, HS_SNS)
IRDLY RDLY source current 8.06 kresistor from RDLY to AGND 90 µA
RRDLY(1) RDLY resistance range 5.00 8.06 25.00 kΩ
tBLANK HS_SNS blanking time RRDLY = 8.06k. From SW rising to HS fault
comparator enabled. 110 125 140 ns
IOCH Overcurrent threshold for high-side FET TJ= 25°C, (VBOOT – VSW) = 5.5V 50 A
l TEXAS INSTRUMENTS
6
UCD74120
SLUSAV8 –OCTOBER 2012
www.ti.com
Product Folder Links: UCD74120
Submit Documentation Feedback Copyright © 2012, Texas Instruments Incorporated
ELECTRICAL CHARACTERISTICS (continued)
TJ= –40°C to 125°C, VVDD, VVIN = 12 V, all parameters at zero power dissipation (unless otherwise noted)
PARAMETER TEST CONDITIONS MIN TYP MAX UNIT
CURRENT SENSE AMPLIFIER (IMON, CSP, CSN)
VIMON IMON voltage at no load CSP = CSN = 1.8V 0.46 0.50 0.54 V
RCS-IN(1) Input impedance Differential, (VCSP - VCSN) 100 kΩ
GCS Closed loop DC gain
(VCSP - VCSN) = 10 mV, 0.5 V VCSN 3.3 V 48 50.2 52.4
V/V
Gain with 2.49 kresistors in series with
CSP, CSN 45.0 47.0 49.2
VCM(1) Input common mode voltage range VCM maximum is limited to (VVGG – 1.2 V) –0.3 5.3 V
VIMON(min) Minimum IMON voltage VCSP = 1.2 V; VCSN = 1.3 V, IIMON = –250 µA 0.1 0.15 V
VIMON(max) Maximum IMON voltage VCSP = 1.3 V; VCSN = 1.2 V, IIMON = 500 µA 3.0 3.2 3.3 V
SR(1) Sampling rate 5 Msps
OUTPUT STAGE
RHI High side device resistance TJ= 25°C, VBOOT – VSW = 5.5 V 4.5 6.5 mΩ
RLO Low side device resistance TJ= 25°C 1.9 2.7
BOOTSTRAP DIODE
VFForward voltage Forward bias current 20 mA 0.4 V
THERMAL SHUTDOWN
TTSD-R(1) Rising threshold 155 165 175 °C
TTSD-F(1) Falling threshold 135 145 155 ºC
TTSD-HYS(1) Hysteresis 20 ºC
*9 TEXAS INSTRUMENTS
AGND ILIM
AVGG
VGG_DIS SRE
RDLY
VGG SRE_MD
PWM
N/C FLT
Bp3
BOOT
PGND
HS_SNS
CSP
N/C
PGND
VDD
CSN
SW
PGND
VIN
N/C
SW
PGND
VIN
IMON
SW
PGND
VIN
SW
PGND
VIN
SW
PGND
VIN
SW
PGND
VIN
1
12
13 14
39
15
38
16
37
17
36
18
35
19
34
20
33
21
22
26
23
27
24
28
25
29
30
31
32
2
3
4
5
6
7
8
9
10
11
40
Thermal Pad
7
UCD74120
www.ti.com
SLUSAV8 –OCTOBER 2012
Product Folder Links: UCD74120
Submit Documentation FeedbackCopyright © 2012, Texas Instruments Incorporated
4 DEVICE INFORMATION
RVF PACKAGE
40 PINS
(TOP VIEW)
The thermal pad is also an electrical ground connection.
PIN FUNCTIONS
PIN I/O DESCRIPTION
NAME NO.
AGND 1 Analog ground return for all circuits except the low-side gate driver. The analog ground and power ground
should be connected together at one point, near the AGND pin.
AVGG 40 I/O Voltage supply to internal control circuitry. Connect a low ESR bypass ceramic capacitor of 100 nF or greater
from this pin to AGND. Also a resistor of 1to 2 must be connected between VGG and this pin.
BOOT 5 I/O Floating bootstrap supply for high side driver. Connect the bootstrap capacitor between this pin and the SW
node. The bootstrap capacitor provides the charge to turn on the high-side FET. A low ESR ceramic capacitor
of 220 nF or greater from this pin to SW must be connected.
BP3 37 O Output bypass for the internal 3.3V regulator. Connect a low ESR bypass ceramic capacitor of 1 µF or greater
from this pin to AGND.
CSN 35 I Inverting input of the output current sense amplifier and current limit comparator.
CSP 36 I Non-inverting input of the output current sense amplifier and current limit comparator.
FLT 29 O
Fault Flag. The FLT signal is a 3.3V digital output which is asserted high when an overcurrent, over-
temperature, or UVLO fault is detected. After an overcurrent event is detected, the flag is reset low on the
falling edge of the next PWM pin, provided the overcurrent condition is no longer detected during the on-time of
the PWM signal. For UVLO and over-temperature faults, the flag is reset when the fault condition is no longer
present.
HS_SNS 28 I A 2-kΩresistor must be connected from this pin directly to the drain of the high-side FET.
ILIM 32 I Output current limit threshold set pin. The voltage on this pin sets the fault threshold voltage on the IMON pin.
The nominal threshold voltage range is 0.5 V to 3.0 V. When V(IMON) exceeds V(ILIM), the FLT pin is
asserted and the high-side gate pulse is truncated.
IMON 33 O Current sense linear amplifier output. The output voltage level on this pin represents the average output
current. V(IMON) = 0.5 V + 50.2(V(CSP) – V(CSN)).
l TEXAS INSTRUMENTS
8
UCD74120
SLUSAV8 –OCTOBER 2012
www.ti.com
Product Folder Links: UCD74120
Submit Documentation Feedback Copyright © 2012, Texas Instruments Incorporated
PIN FUNCTIONS (continued)
PIN I/O DESCRIPTION
NAME NO.
N/C
4
Not internally connected.6
34
PGND
13
Power ground pins. These pins provide a return path for low-side FET and the low-side gate driver.
14
15
16
17
18
19
20
PWM 38 I
PWM input. This pin is a digital input capable of accepting 3.3 V or 5 V logic level signals. A Schmitt trigger
input comparator desensitizes this pin from external noise. When SRE mode is high, this pin controls both gate
drivers. When SRE mode is low, this pin only controls the high-side driver. This pin can detect when the input
drive signal has switched to a high impedance (tri-state) mode. When the high impedance mode is detected,
both the high-side gate and low-side gate signals are held low.
RDLY 39 I Requires a resistor to AGND for setting the current sense blanking time for the high-side current sense
comparator and output current limit circuitry.
SRE 31 I
Synchronous rectifier enable or low-side input. This pin is a digital input capable of accepting 3.3V or 5V logic
level signals. A Schmitt trigger input comparator desensitizes this pin from external noise. When SRE mode is
high, this signal, when low, disables the synchronous rectifier FET. The low-side gate signal is held off. When
SRE mode is high, this signal, when high, allows the low-side gate signal to function according to the state of
the PWM pin. When SRE mode is low, this pin is a direct input to the low-side gate driver.
SRE_MD 30 I
Synchronous rectifier enable mode select pin. When pulled high to BP3, the high-side and low-side gate drive
timing is controlled by the PWM pin. Anti-cross-conduction logic prevents simultaneous application of high-side
and low-side gate drive. When pulled low to AGND, independent operation of the high-side and low-side gate is
selected. The high-side gate is directly controlled by the PWM signal. The low-side gate is directly controlled by
the SRE signal. No anti-cross-conduction circuitry is active in this mode. This pin should not be left floating.
SW
7
I/O Sense line for the adaptive anti-cross conduction circuitry. Serves as common connection for the flying high
side FET driver.
8
9
10
11
12
VDD 27 I Input voltage to internal driver circuitry and control circuitry. Connect a low ESR bypass ceramic capacitor of
100 nF or greater from this pin to AGND.
VGG 3 I/O Gate drive voltage supply. When VGG_DIS is low, VGG is generated by an on-chip linear regulator. Nominal
output voltage is 6.4 V. When VGG_DIS is high, an externally supplied gate voltage can be applied to this pin.
Connect a 4.7-µF, low-ESR, ceramic capacitor from this pin to PGND.
VGG_DIS 2 I VGG disable pin. When pulled high to BP3, the on-chip VGG linear regulator is disabled. When disabled, an
externally supplied gate voltage must be connected to the VGG pin. Connect this pin to AGND to use the on-
chip regulator.
VIN 21–26 I Power input to the high-side FET.
Thermal Pad Power Pad for better thermal performance. It is also connected to PGND internally.
l TEXAS INSTRUMENTS AGND Thermal Pad
UDG-11280
FLT
IMON
UCD74120
SRE_MD
BP3
ILIM
RDLYAVGG
VGG_DIS
AGND
PGND
HS_SNS
VIN
BOOT
SW
CSP
CSN
VGG
SRE
PWM
VDD
Bias
VGG/AVGG
Generator
Digital
Control
Thermal
Sense
+
+
+
0.5 V
VGG/AVGG Blanking
Control
+
UVLO
HS Fault
Thermal Pad
9
UCD74120
www.ti.com
SLUSAV8 –OCTOBER 2012
Product Folder Links: UCD74120
Submit Documentation FeedbackCopyright © 2012, Texas Instruments Incorporated
4.1 BLOCK DIAGRAM
l TEXAS INSTRUMENTS
10
UCD74120
SLUSAV8 –OCTOBER 2012
www.ti.com
Product Folder Links: UCD74120
Submit Documentation Feedback Copyright © 2012, Texas Instruments Incorporated
5 DETAILED DESCRIPTION
5.1 Introduction
The UCD74120, a power stage for synchronous buck converter with current measurement and fault detection
capabilities makes it an ideal partner for digital power controllers. This device incorporates two high-current gate
drive stages, two high performance NexFET power MOSFETS and sophisticated current measurement circuitry
that allows for the monitoring and reporting of output load current. Two separate fault detection blocks protect the
power stage from excessive load current or short circuits. On-chip thermal shutdown protects the device in case
of severe over-temperature conditions. Detected faults immediately truncate the power conversion cycle in
progress, without controller intervention, and assert a digital fault flag (FLT). An on-chip linear regulator supplies
the gate drive voltage. If desired, this regulator can be disabled and an external gate drive voltage can be
supplied. Mode selection pins allow the device to be used in synchronous mode or independent mode. In
synchronous mode, the high-side and low-side gate timing is controlled by a single PWM input. Anti-cross-
conduction dead-time intervals are applied automatically to the gate drives. In independent mode, the PWM and
SRE pins directly control the high-side and low-side gate drive signals. Independent mode automaticly disables
dead-time logic. When operating in synchronous mode, the use of the low-side FET can be disabled under the
control of the SRE pin. Disablling the low-side FET facilitates start-up into a pre-bias voltage and is can reduce
power consumption at light loads in some applications.
5.2 PWM Input (PWM)
The PWM input pin accepts the digital signal from the controller that represents the desired high-side FET on-
time duration. This PWM input accepts 3.3-V logic levels and 5-V input levels. The SRE mode pin sets the
behavior of the PWM pin. When the SRE mode pin is asserted high, the device enters synchronous mode. In
synchronous mode,PWM input signal controls the timing of both the high-side gate drive and the low-side gate
drive. When PWM is high, the high-side gate drive (HS Gate) is on and the low-side gate drive is off. When PWM
is low, the high-side gate drive is off and the low-side gate drive is on. Automatic anti-cross-conduction logic
monitors the gate to source voltage of the FETs to verify that the proper FET is turned OFF before the other FET
is turned ON. When the SRE mode pin is asserted low, the device enters independent mode. In independent
mode, the PWM input controls the high-side gate drive only. When PWM is high, the high-side gate drive is ON.
In independent mode, the SRE pin directly controlls the low-side FETs. No anti-cross-conduction logic is active in
independent mode. The user must ensure that the PWM and SRE signals do not overlap.
PWM input signal can detect when the device has entered a tri-state mode. When tri-state mode is detected,
both the high-side and low-side gate drive signals remain OFF. To support this tri-state mode, the PMW input pin
has an internal pull-up resistor of approximately 50-kΩconnected to the 3.3 V input. It also has a 50-kΩpull-
down resistor to ground. During normal operation, the PWM input signal swings below 0.8 V and above 2.5 V. If
the source driving the PWM pin enters a tri-state or high impedance state, the internal pull-up/pull-down resistors
tend to pull the voltage on the PWM pin to 1.65 V. If the voltage on the PWM pin remains within the 0.8 V to 2.5
V tri-state detection range for longer than the tri-state detection hold-off time (tHLD_R), then the device enters tri-
state mode and turns both gate drives OFF. This behavior occurs regardless of the state of the SRE mode and
SRE pins. When exiting tri-state mode, PWM should first be asserted low. Asserting the PWM pin low ensures
that the bootstrap capacitor is recharged before attempting to turn on the high-side FET.
The logic threshold of this pin typically exhibits 900 mV of hysteresis to provide noise immunity and ensure glitch-
free operation of the gate drivers.
l TEXAS INSTRUMENTS
11
UCD74120
www.ti.com
SLUSAV8 –OCTOBER 2012
Product Folder Links: UCD74120
Submit Documentation FeedbackCopyright © 2012, Texas Instruments Incorporated
5.3 Synchronous Rectifier Enable Input (SRE)
The SRE (synchronous rectifier enable) pin is a digital input with an internal ,10-kΩ, pull-up resistor connected to
the 3.3-V input. It can accept 3.3-V logic levels and 5-V logic levels. The SRE mode pin sets the behavior of the
SRE pin. When the SRE mode pin is asserted high, the device enters synchronous mode. In synchronous mode,
the input, when asserted high, enables the operation of the low-side synchronous rectifier FET. The PWM input
controls the state of the low-side gate drive signal. When the SRE pin is asserted low while in synchronous
mode, the low-side FET gate drive is remains low, maintaining the FET OFF. While remaining OFF, current flow
in the low-side FET is restricted to its intrinsic body diode. When the SRE mode pin is asserted low, the device is
placed in independent mode. In this mode, the state of the low-side gate drive signal follows the state of the SRE
signal. It is completely independent of the state of the PWM signal. No anti-cross-conduction logic is active in
independent mode. The user must ensure that the PWM and SRE signals do not overlap.
The logic threshold of this pin typically exhibits 450 mV of hysteresis to provide noise immunity and ensure glitch-
free operation of the low-side gate driver.
5.4 SRE Mode (SRE_MD)
The SRE mode pin is a digital input that accepts 3.3-V logic levels and levels up to 5-V. This pin establishes the
operational mode on the device. When asserted high, the device enters synchronous mode. In synchronous
mode, the PWM input controls the behavior of both the high-side and low-side gate drive signals. When asserted
low, this pin configures the device for independent mode. In independent mode, the PWM pin controls the high-
side FET and the SRE pin controls the low-side FET. The SRE mode pin should be tied permanently high or low
depending on the power architecture being implemented. It should not be switched dynamically while the device
is in operation. This pin can be tied to the BP3 pin to permanently operate in synchronous mode.
5.5 Input Voltage for Internal Circuits (VDD)
The VDD pin supplies power to the internal circuits of the device. An internal linear regulator that provides the
VVGG gate drive voltage conditions the input power. A second regulator that operates off of the VVGG rail
produces an internal 3.3-V supply that powers the internal analog and digital functional blocks. The BP3 pin
provides access for a high frequency bypass capacitor on this internal rail. The VGG regulator produces a
nominal output of 6.4 V. The undervoltage lockout (UVLO) circuitry monitors the output of the VGG regulator.
The device does not attempt to produce gate drive pulses until the VGG voltage is above the UVLO threshold.
This delay ensures that there is sufficient voltage available to drive the power FETs into saturation when
switching activity begins.
5.6 Voltage Supply for Gate Drive and Internal Control Circuitry (VGG and AVGG)
The VGG pin is the gate drive voltage for the high-current gate drive stages. The AVGG pin is the voltage supply
to internal control circuitry. The on-chip regulator can supply the voltage internally on the VGG pin, or the user
can supply the voltage externally. When using the internal regulator, the VGG_DIS pin should be tied low. When
using an external source for VGG, the VGG_DIS pin must be tied high. The device draws current from the VGG
supply in fast, high-current pulses. Connect a 4.7-µF ceramic capacitor between the VGG pin and the PGND pin
as close as possible to the package.
Connect a resistor with a value between 1 and 2 between the AVGG pin and the VGG pin. Connect a low-
ESR bypass ceramic capacitor of 100 nF or greater between the AVGG pin and AGND.
Whether the voltage is internally or externally supplied, UVLO circuitry monitors the voltage on the VGG pin. The
voltage must be higher than the UVLO threshold before power conversion can occur. Note that the FLT pin is
asserted high when VVGG is below the UVLO threshold.
5.7 VGG Disable (VGG_DIS)
The VGG_DIS pin, when asserted high, disables the on-chip VGG linear regulator. When tied low, the VGG
linear regulator derives the VGG supply from VIN. Permanently tie the VGG_DIS pin high or low depending on
the power architecture being implemented. The VGG_DIS pin should not be switched dynamically while the
device is in operation.
l TEXAS INSTRUMENTS
12
UCD74120
SLUSAV8 –OCTOBER 2012
www.ti.com
Product Folder Links: UCD74120
Submit Documentation Feedback Copyright © 2012, Texas Instruments Incorporated
5.8 Switching Node (SW)
The SW pin connects to the switching node of the power conversion stage. It acts as the return path for the high-
side gate driver. When configured as a synchronous buck stage, the voltage swing on SW normally traverses
from below ground to well above VIN. Parasitic inductance in the high-side FET and the output capacitance
(COSS) of both power FETs form a resonant circuit that can produce high frequency ( > 100 MHz) ringing on this
node. The voltage peak of this ringing, if not controlled, can be significantly higher than VIN. Ensure that no peak
ringing amplitude exceeds the absolute maximum rating limit for the pin.
In many cases, connecting a series resistor and capacitor snubber network from the switching node to PGND
can dampen the ringing and decrease the peak amplitude. Make allowances for snubber network components
during the layout of the printed circuit board. If testing reveals that the ringing amplitude at the SW pin exceeds
the limit, then populate the snubber components.
Placing a BOOT resistor with a value between 5 and 10 in series with the BOOT capacitor slows down the
turn-on of the high-side FET and can help to reduce the peak ringing at the switching node as well.
5.9 Bootstrap (BST)
The BST pin provides the drive voltage for the high-side FET. A bootstrap capacitor connects this pin to the SW
node. Internally, a diode connects the BST pin to the VGG supply. In normal operation, when the high-side FET
is off and the low-side FET is on, the SW node puills to ground and, thus, maintains one side of the bootstrap
capacitor at ground potential. The internal diode connected to VGG clamps the other side of the bootstrap
capacitor . The voltage across the bootstrap capacitor at this point is the magnitude of the gate drive voltage
available to switch-on the high-side FET. The bootstrap capacitor should be a low-ESR ceramic type, with a
recommended minimum value of 0.22 µF. The recommended minimum voltage rating is 16 V or higher.
5.10 Current Sense (CSP, CSN)
The CSP and CSN pins are the input to the differential current sense amplifier. The current sense positive (CSP)
pin connects to the non-inverting input, the current sense negative (CSN) connects to the inverting input. This
amplifier allows the device to monitor and measure the output current of the power stage. The circuitry can be
used with a discrete, low value, series current sense resistor, or can make use of the popular inductor DCR
sense method.
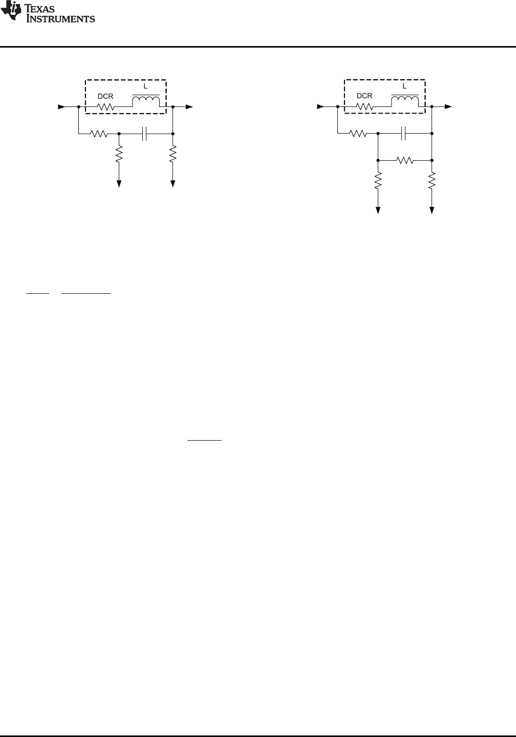
Figure 1 illustrates the DCR method of current sensing, showing a series resistor and capacitor network added
across the buck stage power inductor. When the value of L/DCR is equal to RC, then the voltage developed
across the capacitor, C, is a replica of the voltage waveform the ideal current would induce in the dc resistance
(DCR) of the inductor. This method does not detect changes in current due to changes in inductance value
caused by saturation effects. The value used for C should be between 0.1 µF and 2.2 µF. This maintains low
impendence of the sense network, which reduces its susceptibility to noise pickup from the switching node. The
trace lengths of the CSP and CSN signals should be kept short and parallel. To aid in rejection of high frequency
common-mode noise, a series 2.49-kΩresistor should be added to both the CSP and CSN signal paths, with the
resistors being placed close to the pins at the package. This small amount of additional resistance slightly lowers
the current sense gain.
Select power inductors with the lowest possible DCR in order to minimize losses. Typical DCR values range
between 0.5 mΩand 5 mΩ. With a load current of 25 A, the voltage presented across the CSP and CSN pins
ranges between 12.5 mV and 125 mV. Note that this small differential signal is superimposed on a large
common mode signal that is the dc output voltage, which makes the current sense signal challenging to process.
The UCD74120 uses switched capacitor technology to perform the differential to single-ended conversion of the
sensed current signal. This technique offers excellent common mode rejection. The differential CSP-CSN signal
is amplified by a factor of 47 and then a fixed 500-mV pedestal voltage is added to the result. The IMON pin
senses this signal.
When using inductors with DCR values of 1.5 mΩor higher, it may be necessary to attenuate the input signal to
prevent saturation of the current sense amplifier. Add of resistor R2 as shown in Figure 2 to provide attenuation.
*9 TEXAS INSTRUMENTS
( )
OUT LOAD
R2
V I 0.5 47 DCR I
R1 R2
æ ö
= + ´ ´ ´ ç ÷
+
è ø
( )
OUT LOAD
V I 0.5 47 DCR I= + ´ ´
( )
L C R1 R2
DCR R1 R2
´ ´
=+
UDG-11184
R1
2.49 kW
CSP CSN
C
DCR
L
VOUT
2.49 kW
SW
R2
UDG-11183
R
2.49 kW
CSP CSN
C
DCR
L
VOUT
2.49 kW
SW
13
UCD74120
www.ti.com
SLUSAV8 –OCTOBER 2012
Product Folder Links: UCD74120
Submit Documentation FeedbackCopyright © 2012, Texas Instruments Incorporated
Current Sense (CSP, CSN) (continued)
Figure 1. DCR Current Sense Figure 2. Attenuating the DCR Sense Signal
The amount of attenuation is equal to R2/(R1 + R2). The equivalent resistance value to use in the L/DCR = RC
formula is the parallel combination of R1 and R2. Thus, when using the circuit shown in Figure 2,
(1)
5.11 Current Monitor (IMON)
The IMON pin signal is a voltage proportional to the output current delivered by the power stage. Equation 2
describes the voltage magnitude when using the circuit shown in Figure 1 and reflects the gain reduction caused
by the series 2.49-kΩresistors.
(2)
If the calculated value of VIMON at maximum load exceeds 2.5 V, then the circuit of Figure 2 should be used.
When using the circuit shown in Figure 2, the modified Equation 3 describes the voltage on IMON.
(3)
In either case, the output voltage is 500 mV at no load. Current that is sourced to the load causes the IMON
voltage to rise above 500 mV. Current that is forced into the power stage (sinking current) is considered negative
current and causes the IMON voltage to fall below 500 mV. The usable dynamic range of the IMON signal is
approximately 100 mV to 3.1 V. Note that this signal swing could exceed not only the maximum range of an
analog to digital converter (ADC) that may be used to read or monitor the IMON signal, but also the maximum
programmable limit for the fault OC threshold. For example, the UCD92xx family of digital controllers has
maximum limit of 2.5 V for the ADC converter and 2.0 V for the fault overcurrent threshold, even though the input
pin can tolerate voltages up to 3.3 V.
The device internally feeds the IMON voltage (VIMON) to the non-inverting input of the output overcurrent fault
comparator. Set the overcurrent threshold to approximately 150% of the rated power stage output current plus
one half of the peak-to-peak inductor ripple current. This setting requires that the IMON signal remain within its
linear dynamic range at this threshold load current level. This requirement may force the use of the attenuation
circuit of Figure 2. Note that the IMON voltage (that goes to the output overcurrent fault comparator) is held
during the blanking interval set by the resistor on the RDLY pin. This means that the IMON pin does not reflect
output current changes during the blanking interval, and that a fault is not flagged until the blanking interval
terminates.
l TEXAS INSTRUMENTS
=
BLANK RDLY
t 8.76 R 54.4´ +
14
UCD74120
SLUSAV8 –OCTOBER 2012
www.ti.com
Product Folder Links: UCD74120
Submit Documentation Feedback Copyright © 2012, Texas Instruments Incorporated
5.12 Current Limit (ILIM)
The ILIM pin feeds the inverting input of the output overcurrent fault comparator. The voltage applied to this pin
sets the overcurrent fault threshold. When the voltage on the IMON pin exceeds the voltage on this pin, athe
device flags a fault . The voltage on this pin can be set by a voltage divider, a DAC, or by a filtered PWM output.
The usable voltage range of the ILIM pin is approximately 0.6V to 3.1V. This represents the linear range of the
IMON signal for sourced output current. When using a voltage divider to set the threshold, add a small (0.01-µF)
capacitor to BP3 to improve noise immunity.
5.13 Blanking Time (RDLY)
The RDLY pin sets the blanking time of the high-side fault detection comparator. A resistor to AGND sets the
blanking time according to the following formula, where tBLANK is in nanoseconds and RDLY is in kΩ. Do not use
a value greater than 25 kΩfor the RDLY resistor.
(4)
To calculate the nominal blanking time for a given value of resistance, use Equation 5.
(5)
The blanking interval begins on the rising edge of SW. During the blanking time the high-side fault comparator
remains OFF. A high-side fault flags when the voltage drop across the high-side FET exceeds the threshold set
by the HS_SNS pin. Blanking is required because the high amplitude ringing that occurs on the rising edge of
SW would otherwise cause false triggering of the fault comparator. The required amount of blanking time is a
function of the high-side FET, the PCB layout, and whether or not a snubber network is being used. A value of
100 ns is a typical starting point. An RRDLY of 8.06 kΩprovides 125 ns of blanking. Maintains a blanking interval
as short as possible, consistent with reliable fault detection. The blanking interval sets the minimum duty cycle
pulse width where high-side fault detection is possible. When the duty-cycle of the PWM pulses are narrower
than the blanking time, the high-side fault detection comparator is held off for the entire on-time and is, therefore,
blind to any high-side faults.
Internally, a 90-µA current source supplies the RDLY. When using the default value of 8.06 kΩ, the voltage
measured on the RDLY pin is approximately 725 mV.
5.14 Fault Flag (FLT)
The digital output fault flag (FLT) pin assertes when the device detects a significant fault. It alerts the host
controller to an event that interrupts power conversion. The device holds the FLT pin low during normal
operation.
When a fault is detected, the FLT pin asserts high (3.3 V). There are four events that can trigger the FLT signal:
output overcurrent
high-side overcurrent
undervoltage lockout (UVLO)
thermal shutdown
The Fault Behavior section describes the operation of the device during fault conditions. When asserted in
response to an overcurrent fault, the FLT signal resets to low at the falling edge of a subsequent PWM pulse,
provided no faults are detected during the on-time of the pulse. If the fault is still present, the flag remains
asserted. When asserted in response to an UVLO or thermal shutdown event, the FLT pin automatically de-
asserts when the UVLO or thermal event has passed. If the on-time of the PWM pulse is less than 100 ns, then
more than one pulse may be required to reset the flag.
5.15 3.3-V BP Regulator (BP3)
The BP3 pin provides a connection point for a bypass capacitor that quiets the internal 3.3-V voltage rail.
Connect a 1-µF (or greater) ceramic capacitor from this pin to analog ground. Do not draw current from this pin.
The BP3 pin is not intended to be a significant source of 3.3-V input voltage. However, the user can design an
application that includes 3.3-V source for an ILIM voltage divider and a tie point for the SRE mode pin. Limit the
current drawn 100 µA or less.
l TEXAS INSTRUMENTS
PWM
Internal
Fault Signal
FLT No fault present during entire
PWM high interval. FLT reset
on PWM falling edge
Fault
detected
Fault
remains
Fault Detected
PWM
FLT
HS Gate
LS Gate
15
UCD74120
www.ti.com
SLUSAV8 –OCTOBER 2012
Product Folder Links: UCD74120
Submit Documentation FeedbackCopyright © 2012, Texas Instruments Incorporated
5.16 Fault Behavior
When faults are detected, the device reacts immediately to minimize power dissipation in the FETs and protect
the system. The type of fault influences the behavior of the gate drive signals.
Immediately after a thermal shutdown fault occurs, the device forces both high-side gate and low-side gate low.
They remain low (regardless of the state of the PWM and the SRE pin) for the duration of the thermal shutdown.
A UVLO fault occurs when the voltage on the VGG pin is less than the UVLO threshold. During this time, the
device drives both the high-side gate and low-side gate to low, regardless of the state of the PWM the and SRE
pins. The fault automatically clears when VVGG rises above the UVLO threshold.
When the device detects either a high-side fault or an output overcurrent fault, the FLT pin asserts high, and the
device immediately pulls both gate signals to low. During a high-side fault, the device issues a high-side gate
pulse with each incoming PWM pulse. If the fault is still present, the high-side gate signal again truncates. This
behavior repeats on a cycle-by-cycle basis until the fault clears or the PWM input remains low. Figure 3
illustrates this behavior
Figure 3. High-side Overcurrent Fault Response
When the device detects a high-side fault and output overcurrent fault concurrently, then it immediately turns
OFF and holds OFF both FET drives. If the output overcurrent fault remains present at the next PWM rising
edge, then the device issues no high-side gate pulsecontinue to be hold both gates OFF. Unlike the high-side
fault detection circuitry, the output overcurrent fault circuitry does not reset on a cycle-by-cycle basis. The output
current must fall below the overcurrent threshold before switching resumes.
5.17 FLT Reset
With the exception of a UVLO fault or a thermal shutdown fault, subsequent PWM pulses clears the FLT flag,
after it is asserted. The device clears the FLT flag at the falling edge of the next PWM pulse, provided a fault
condition is not asserted during the entire on-time of the PWM pulse. If the device detects a fault during the on-
time interval, the FLT pin remains asserted. Figure 4 illustrates this behavior.
Figure 4. FLT Reset Sequence
l TEXAS INSTRUMENTS
16
UCD74120
SLUSAV8 –OCTOBER 2012
www.ti.com
Product Folder Links: UCD74120
Submit Documentation Feedback Copyright © 2012, Texas Instruments Incorporated
FLT Reset (continued)
Whenever the voltage on the VGG pin is below the UVLO falling threshold (as at the time of initial power-up for
example) the FLT pin asserts. When the voltage on the VGG pin rises above the UVLO rising threshold, the
device clears the FLT automatically. This feature permits the FLT pin to be used as a power not good signal at
initial power-up to signify that there is insufficient gate drive voltage available to permit proper power conversion.
When FLT goes low, it is an indication of gate drive power good and power conversion can commence. After
initial power-up, the assertion of the FLT flag indicates that power conversion has stopped or has been limited by
a fault condition.
5.18 Thermal Shutdown
If the junction temperature exceeds approximately 165°C, the device enters thermal shutdown. The device
asserts the FLT pin and turns OFF both gate drivers. When the junction temperature cools by approximately
20°C, the device exits thermal shutdown. The FLT flag resets immediately after exiting thermal shutdown.
I TEXAS INSTRUMENTS Samples Samples
PACKAGE OPTION ADDENDUM
www.ti.com 10-Dec-2020
Addendum-Page 1
PACKAGING INFORMATION
Orderable Device Status
(1)
Package Type Package
Drawing Pins Package
Qty Eco Plan
(2)
Lead finish/
Ball material
(6)
MSL Peak Temp
(3)
Op Temp (°C) Device Marking
(4/5)
Samples
UCD74120RVFR ACTIVE LQFN-CLIP RVF 40 3000 RoHS-Exempt
& Green NIPDAU Level-2-260C-1 YEAR -40 to 125 UCD74120
UCD74120RVFT ACTIVE LQFN-CLIP RVF 40 250 RoHS-Exempt
& Green NIPDAU Level-2-260C-1 YEAR -40 to 125 UCD74120
(1) The marketing status values are defined as follows:
ACTIVE: Product device recommended for new designs.
LIFEBUY: TI has announced that the device will be discontinued, and a lifetime-buy period is in effect.
NRND: Not recommended for new designs. Device is in production to support existing customers, but TI does not recommend using this part in a new design.
PREVIEW: Device has been announced but is not in production. Samples may or may not be available.
OBSOLETE: TI has discontinued the production of the device.
(2) RoHS: TI defines "RoHS" to mean semiconductor products that are compliant with the current EU RoHS requirements for all 10 RoHS substances, including the requirement that RoHS substance
do not exceed 0.1% by weight in homogeneous materials. Where designed to be soldered at high temperatures, "RoHS" products are suitable for use in specified lead-free processes. TI may
reference these types of products as "Pb-Free".
RoHS Exempt: TI defines "RoHS Exempt" to mean products that contain lead but are compliant with EU RoHS pursuant to a specific EU RoHS exemption.
Green: TI defines "Green" to mean the content of Chlorine (Cl) and Bromine (Br) based flame retardants meet JS709B low halogen requirements of <=1000ppm threshold. Antimony trioxide based
flame retardants must also meet the <=1000ppm threshold requirement.
(3) MSL, Peak Temp. - The Moisture Sensitivity Level rating according to the JEDEC industry standard classifications, and peak solder temperature.
(4) There may be additional marking, which relates to the logo, the lot trace code information, or the environmental category on the device.
(5) Multiple Device Markings will be inside parentheses. Only one Device Marking contained in parentheses and separated by a "~" will appear on a device. If a line is indented then it is a continuation
of the previous line and the two combined represent the entire Device Marking for that device.
(6) Lead finish/Ball material - Orderable Devices may have multiple material finish options. Finish options are separated by a vertical ruled line. Lead finish/Ball material values may wrap to two
lines if the finish value exceeds the maximum column width.
Important Information and Disclaimer:The information provided on this page represents TI's knowledge and belief as of the date that it is provided. TI bases its knowledge and belief on information
provided by third parties, and makes no representation or warranty as to the accuracy of such information. Efforts are underway to better integrate information from third parties. TI has taken and
continues to take reasonable steps to provide representative and accurate information but may not have conducted destructive testing or chemical analysis on incoming materials and chemicals.
TI and TI suppliers consider certain information to be proprietary, and thus CAS numbers and other limited information may not be available for release.
In no event shall TI's liability arising out of such information exceed the total purchase price of the TI part(s) at issue in this document sold by TI to Customer on an annual basis.
I TEXAS INSTRUMENTS
PACKAGE OPTION ADDENDUM
www.ti.com 10-Dec-2020
Addendum-Page 2
I TEXAS INSTRUMENTS REEL DIMENSIONS TAPE DIMENSIONS 7 “K0 '«m» Reel Diame|er AD Dimension deswgned to accommodate the componem wwdlh E0 Dimension desxgned to accommodate the componenl \ength KO Dimenslun deswgned to accommodate the componem thickness 7 w OveraH wwdm loe earner cape i p1 Pitch between successwe cavuy cemers f T Reel Width (W1) QUADRANT ASSIGNMENTS FOR PIN 1 ORIENTATION IN TAPE O O O D O O D O Sprockemoles ,,,,,,,,,,, ‘ User Direcllon 0' Feed Pockel Quadrams
TAPE AND REEL INFORMATION
*All dimensions are nominal
Device Package
Type Package
Drawing Pins SPQ Reel
Diameter
(mm)
Reel
Width
W1 (mm)
A0
(mm) B0
(mm) K0
(mm) P1
(mm) W
(mm) Pin1
Quadrant
UCD74120RVFR LQFN-
CLIP RVF 40 3000 330.0 16.4 5.35 7.35 1.7 8.0 16.0 Q1
UCD74120RVFT LQFN-
CLIP RVF 40 250 180.0 16.4 5.35 7.35 1.7 8.0 16.0 Q1
PACKAGE MATERIALS INFORMATION
www.ti.com 18-Jul-2018
Pack Materials-Page 1
I TEXAS INSTRUMENTS TAPE AND REEL BOX DIMENSIONS
*All dimensions are nominal
Device Package Type Package Drawing Pins SPQ Length (mm) Width (mm) Height (mm)
UCD74120RVFR LQFN-CLIP RVF 40 3000 367.0 367.0 38.0
UCD74120RVFT LQFN-CLIP RVF 40 250 210.0 185.0 35.0
PACKAGE MATERIALS INFORMATION
www.ti.com 18-Jul-2018
Pack Materials-Page 2
GENERIC PACKAGE VIEW RVF 40 LQFN-CLIP - 1.52 mm max heigm PLASTIC QUAD FLATPACKV N0 LEAD Images above are jusl a represenlalion of the package family, aclual package may vary Refel lo the product dala sheel for package details. 4211 383/D I TEXAS INSTRI IMFNTS
--I WV Q m ‘ G) 333333333333 i Era?
www.ti.com
PACKAGE OUTLINE
C
40X 0.3
0.2
3.3 0.1
40X 0.5
0.3
1.52
1.32
(0.2) TYP
0.05
0.00
36X 0.5
2X
5.5
2X 3.5
5.3 0.1
B5.1
4.9 A
7.1
6.9
LQFN-CLIP - 1.52 mm max heightRVF0040A
PLASTIC QUAD FLATPACK - NO LEAD
4222989/B 10/2017
PIN 1 INDEX AREA
0.08 C
SEATING PLANE
1
12 21
32
13 20
40 33
(OPTIONAL)
PIN 1 ID 0.1 C A B
0.05
EXPOSED
THERMAL PAD
SYMM
SYMM
41
NOTES:
1. All linear dimensions are in millimeters. Any dimensions in parenthesis are for reference only. Dimensioning and tolerancing
per ASME Y14.5M.
2. This drawing is subject to change without notice.
3. The package thermal pad must be soldered to the printed circuit board for thermal and mechanical performance.
4. Reference JEDEC registration MO-220.
SCALE 2.000
7 T ,,,,,,, @EHB—Bflflfiifl 7 m ffivgj Lie 4; Hm feta CD ¢i,,,%fiei 7%7 797%74 22% + 0% “D “g (g E 7 [i1 i i 3 Swagger}; 777777 L_¢_J 1F
www.ti.com
EXAMPLE BOARD LAYOUT
0.07 MIN
ALL AROUND
0.07 MAX
ALL AROUND
40X (0.25)
40X (0.6)
( 0.2) TYP
VIA
36X (0.5)
(6.8)
(4.8)
6X
(1.28)
(3.3)
(R0.05) TYP
(5.3)
6X (1.4)
2X
(1.12)
LQFN-CLIP - 1.52 mm max heightRVF0040A
PLASTIC QUAD FLATPACK - NO LEAD
4222989/B 10/2017
SYMM
1
12
13 20
21
32
33
40
SYMM
LAND PATTERN EXAMPLE
SCALE:12X
41
NOTES: (continued)
5. This package is designed to be soldered to a thermal pad on the board. For more information, see Texas Instruments literature
number SLUA271 (www.ti.com/lit/slua271).
SOLDER MASK
OPENING
METAL UNDER
SOLDER MASK
SOLDER MASK
DEFINED
METAL
SOLDER MASK
OPENING
SOLDER MASK DETAILS
NON SOLDER MASK
DEFINED
(PREFERRED)
W i] :: d9? ,fl ,J,,,,,7L \ L¢_J 38%} 3 mwflflm Th a F“ J \ 1 ,—®— JQ {km 4%, L——J
www.ti.com
EXAMPLE STENCIL DESIGN
40X (0.6)
40X (0.25)
36X (0.5)
(4.8)
(6.8)
8X (1.43)
(1.28)
TYP
(0.815) TYP
(R0.05) TYP
(0.64)
TYP
8X
(1.08)
LQFN-CLIP - 1.52 mm max heightRVF0040A
PLASTIC QUAD FLATPACK - NO LEAD
4222989/B 10/2017
NOTES: (continued)
6. Laser cutting apertures with trapezoidal walls and rounded corners may offer better paste release. IPC-7525 may have alternate
design recommendations.
SYMM
METAL
TYP
SOLDER PASTE EXAMPLE
BASED ON 0.125 mm THICK STENCIL
EXPOSED PAD
71% PRINTED SOLDER COVERAGE BY AREA
SCALE:18X
SYMM
1
12
13 20
21
32
33
40
41
IMPORTANT NOTICE AND DISCLAIMER
TI PROVIDES TECHNICAL AND RELIABILITY DATA (INCLUDING DATASHEETS), DESIGN RESOURCES (INCLUDING REFERENCE
DESIGNS), APPLICATION OR OTHER DESIGN ADVICE, WEB TOOLS, SAFETY INFORMATION, AND OTHER RESOURCES “AS IS”
AND WITH ALL FAULTS, AND DISCLAIMS ALL WARRANTIES, EXPRESS AND IMPLIED, INCLUDING WITHOUT LIMITATION ANY
IMPLIED WARRANTIES OF MERCHANTABILITY, FITNESS FOR A PARTICULAR PURPOSE OR NON-INFRINGEMENT OF THIRD
PARTY INTELLECTUAL PROPERTY RIGHTS.
These resources are intended for skilled developers designing with TI products. You are solely responsible for (1) selecting the appropriate
TI products for your application, (2) designing, validating and testing your application, and (3) ensuring your application meets applicable
standards, and any other safety, security, or other requirements. These resources are subject to change without notice. TI grants you
permission to use these resources only for development of an application that uses the TI products described in the resource. Other
reproduction and display of these resources is prohibited. No license is granted to any other TI intellectual property right or to any third
party intellectual property right. TI disclaims responsibility for, and you will fully indemnify TI and its representatives against, any claims,
damages, costs, losses, and liabilities arising out of your use of these resources.
TI’s products are provided subject to TI’s Terms of Sale (www.ti.com/legal/termsofsale.html) or other applicable terms available either on
ti.com or provided in conjunction with such TI products. TI’s provision of these resources does not expand or otherwise alter TI’s applicable
warranties or warranty disclaimers for TI products.
Mailing Address: Texas Instruments, Post Office Box 655303, Dallas, Texas 75265
Copyright © 2020, Texas Instruments Incorporated