Choose the Right Precision Op Amp to Simplify Analog Front-End Design
Experienced circuit designers know the time spent carefully choosing the specific op amp for an analog front-end (AFE) or analog signal channel is well-used. This diminutive component, often with just eight leads, has the modest sounding but vital task of amplifying, buffering, and filtering a small and frequently fragile sensor output signal.
Using the appropriate op amp will ensure the signal-channel performance meets the objectives and simplifies the signal processing and analysis algorithms subsequently performed on the digitized signal. By providing the right combination of specifications for gain, input range, noise, stability, and other attributes, this single component can minimize the frustrating debug efforts related to chasing down elusive errors and data inconsistencies.
As the late analog component and circuit expert Bob Pease often remarked, “One good op amp is worth a thousand gates.” He meant this figuratively and literally: the right choice of op amp can save you a lot of headaches in the digital and software world.
Choosing the “best” op amp for an AFE is often a challenge, as the many specifications of any op amp result from finding a balance among design tradeoffs and compromises. These attributes must be matched to the designer's relative weights for the project’s performance priorities. Fortunately, new op amps reduce these tradeoffs.
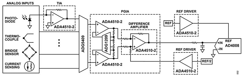
An example is the Analog Devices ADA4510-2, a dual-channel, 40 volt, high-precision op amp. It features low input-bias current, low offset voltage, low offset voltage drift, low noise, and rail-to-rail input and output in an eight-lead narrowbody SOIC package. It can be used at nearly any point of the signal chain, including sensing, conditioning, and output drive (Figure 1).
 Figure 1: The ADA4510-2 can provide precision functionality at many critical points of the AFE and along the entire analog signal chain. (Image source: Analog Devices)
 Figure 1: The ADA4510-2 can provide precision functionality at many critical points of the AFE and along the entire analog signal chain. (Image source: Analog Devices)
This device eliminates many of the “pain points” designers encounter when selecting an amplifier for a signal chain. While application priorities differ, this op amp can provide superior performance with many of them, including electronic test and measurement, data acquisition systems, automated test equipment, medical instruments, multiplexed input signal chains, precision current measurement, and photodiode amplifiers.
Much of its enhanced performance is due to the proprietary DigiTrim technique. DigiTrim corrects any offset voltages and drifts caused by mechanical stresses due to assembly and packaging effects, in addition to the already trimmed bare-die characteristics.
Using this patented technique, the ADA4510-2 achieves excellent low offset drift (±70 nanovolts per degree Celsius (nV/°C) typical, ±500 nV/°C maximum) and low offset voltage (±5 microvolts (μV) typical, ±20 μV maximum), simplifying the temperature-related calibrations in precision designs. Further, the datasheet provides typical numbers and minimum or maximum specifications (as appropriate) for all critical parameters.
Layout and guarding
With many analog components, especially precision ones such as the ADA4510-2, carefully considering the layout details and subtleties is essential to reaching their performance potential. Since the ADA4510-2 has extremely high-impedance inputs, any shunt impedance due to leakage resistance and parasitic capacitance in the printed-circuit board (PC board) layout will severely degrade the performance of its low-bias input. The datasheet for the ADA4510-2 provides more details.
The datasheet emphasizes that “guarding” may be needed to protect against parasitic leakage current by reducing the voltage gradient seen by the input node. Guarding is an established technique where a low-impedance conductor is created to surround a high-impedance node and is driven to the voltage of that node. It serves to buffer leakage current by diverting it away from the sensitive node and into the low-impedance guard (Figure 2).
 Figure 2: Guarding is a technique used to minimize the detrimental effects of current leakage at a high-impedance input. The top image shows the guarding concept using a schematic diagram; the bottom image shows the guarding layout implementation on a circuit board. (Image source: Analog Devices)
 Figure 2: Guarding is a technique used to minimize the detrimental effects of current leakage at a high-impedance input. The top image shows the guarding concept using a schematic diagram; the bottom image shows the guarding layout implementation on a circuit board. (Image source: Analog Devices)
Get physical with an evaluation board
Rather than spend time fabricating your own test layout to assess the suitability of the ADA4510-2 in your application, using a vendor-provided and optimized evaluation board saves time and performs better. To this end, Analog Devices offers the EVAL-ADA4510-2ARZ (Figure 3). This compact design uses surface-mount technology (SMT) components in the standard 0603 (0.06 × 0.03 inches (in.)) case size, except for bypass capacitors and termination resistors.
 Figure 3: The EVAL-ADA4510-2ARZ evaluation board is a compact, convenient, optimized tool for exercising the ADA4510-2 and assessing its characteristics in a target application. (Image source: Analog Devices)
 Figure 3: The EVAL-ADA4510-2ARZ evaluation board is a compact, convenient, optimized tool for exercising the ADA4510-2 and assessing its characteristics in a target application. (Image source: Analog Devices)
This evaluation board features a variety of unpopulated resistor and capacitor footprints, providing the user with choices and flexibility for implementing different application-focused circuits. It also has provisions for photodiode sensors to allow for easy configuration of a transimpedance amplifier (TIA). The layout includes guarding to ensure the low leakage and parasitic capacitance mandated for TIA applications.
The board incorporates edge-mounted SMA connectors to ease interfacing with test equipment and other circuits. The seven-page UG-2133 user guide contains set-up information, a schematic diagram, a PC board layout pattern for the top and bottom sides, and a parts bill of materials (BOM) for designers who want to use it as a design guide.
Conclusion
Choosing the right op amp is critical when designing a high-performance AFE. Using a precision op amp such as the ADA4510-2 with its proprietary trimming technology minimizes signal-chain drift and noise that could degrade performance.
Related Content (all from Analog Devices)
• ADA4510-2 Datasheet
https://www.analog.com/media/en/technical-documentation/data-sheets/ada4510-2.pdf
• UG-2133 EVAL-ADA4510-2ARZ User Guide
https://www.analog.com/media/en/technical-documentation/user-guides/eval-ada4510-2-ug-2133.pdf
• Engineer Zone, “Guarding techniques”
https://ez.analog.com/amplifiers/w/documents/25819/guarding-techniques
• Application Note AN-347, “Shielding and Guarding”
https://www.analog.com/media/en/technical-documentation/application-notes/41727248AN_347.pdf
• Technical Note, “Layout For Precision Op Amps”
https://www.analog.com/en/resources/technical-articles/layout-for-precision-op-amps.html
 
Have questions or comments? Continue the conversation on TechForum, DigiKey's online community and technical resource.
Visit TechForum 
                 
                 
                 
 
 
 
 Settings
        Settings
     Fast Delivery
                                    Fast Delivery
                                 Free Shipping
                                    Free Shipping
                                 Incoterms
                                    Incoterms
                                 Payment Types
                                    Payment Types
                                






 Marketplace Product
                                    Marketplace Product
                                



 
             
             
                 
                

 
                                 
                                 
                                 
                         
                                 
                                 
                                 
                                 
                                 
                                 
                                 Finland
Finland