TP11362A Datasheet by Texas Instruments

View All Related Products | Download PDF Datasheet
yNational Semiconductor TP11362A March 1997 Quad Adaptive Differential PCM Processor General Description The TPHSSZA is a quad (A) channei Adapnve DMevenhai Poise Cede Meduiaucn {ADPCMJ \ranscoaen My compair iblE \o iTU G726 vecommendauon m 413kbps 32 kbps‘ 2A Maps 16 khps and ANS‘ 32 kbps modes The TPH 362A ADPCM processor can operate on up |0 a maependem channels m an 8 kHz lrame Each channel is indwlduaHy canngureu, supporting bmh mu and nan dupiex epevahon AH mpuuempm (ransiers occur on an Imevrupt basrs usmg ser Hat doubie buWered data vegis|evs Together wnh Nailonai‘s TP3054’57 COMBOE or TP307DH1 COMBO || GEVICES‘ \he TPHSSZA fiorms compleie ADPCM ohanneis wuh Cadet! unenng Features - ccrrr G 726 compahbie a\ «0‘ 32‘ 24‘ 16 kbps - ANSI T1 301 oompahbie a| 32 kbps - Erchannel haifirdupiex (encode m decade) or Archannei luHrdupiex operahon m 8 kHz name Each channel individually configurable Seiemable urlaw 0r Maw PcM ceding Asynchronous 5 MHz masier clock aperauen TrL and cMos cempaume mpms and empms 287mm FLCC or 2Arpm DiP packages Power consumption or in) 6 mW a| .sv per fiuilrduplex ohannei Oanhip PowerrOnrHeset - rAD’C m +85’C epevaimg \emperamre range - Singie 5v suppiy Block Diagram W Pm mm mm” mm m mm Pros-55m w ADPCM mm mm, away m m r56» ASEK emu UMP“ Mew m ASCK m amp-A may W50 mu Pscx comm sme mum: FIGURE 1. Block Diagram w amp and coMaov are new ”mm a! mm sewnmnunmrcmvmxhnn 40339904d INOd lenuaiama anndepv peno VZQELLdl
TP11362A
Quad Adaptive Differential PCM Processor
General Description
The TP11362A is a quad (4) channel Adaptive Differential
Pulse Code Modulation (ADPCM) transcoder, fully compat-
ible to ITU G.726 recommendation in 40 kbps, 32 kbps,
24 kbps, 16 kbps and ANSI 32 kbps modes. The TP11362A
ADPCM processor can operate on up to 8 independent
channels in an 8 kHz frame. Each channel is individually
configured, supporting both full and half duplex operation. All
input/output transfers occur on an interrupt basis using se-
rial, double buffered data registers. Together with National’s
TP3054/57 COMBO®or TP3070/71 COMBO II devices, the
TP11362A forms complete ADPCM channels with Codec/
filtering.
Features
nCCITT G.726 compatible at 40, 32, 24, 16 kbps
nANSI T1.301 compatible at 32 kbps
n8-channel half-duplex (encode or decode) or 4-channel
full-duplex operation in 8 kHz frame
nEach channel individually configurable
nSelectable µ-law or A-law PCM coding
nAsynchronous 8 MHz master clock operation
nTTL and CMOS compatible inputs and outputs
n28-pin PLCC or 24-pin DIP packages
nPower consumption of typ. 6 mW at +5V per full-duplex
channel
nOn-Chip Power-On-Reset
n−40˚C to +85˚C operating temperature range
nSingle 5V supply
Block Diagram
TRI-STATE®and COMBO®are registered trademarks of National Semiconductor Corporation.
DS012877-1
FIGURE 1. Block Diagram
March 1997
TP11362A Quad Adaptive Differential PCM Processor
© 1997 National Semiconductor Corporation DS012877 www.national.com
Connection Diagrams Plaetlc chlp Carrlers t s 2 t 22 27 25 NC 25 —PCMt rsr2 2t — rsta tsvt 2: —ttsva RSt TPII362AV 12 —C[ rsa 2t —m ASCK zo ttttt ELK ta —rtt t2 t1 U ts t5 t7 ‘8 NE NB the WIN amt Top Vlew order Number TPmezAv see us Package Number VZBA Pin Descrlphons Tsl Transmtt PCM senal data tnput Tst ts an Brbtl PcM data stream and ts shttted tnto an Erbt‘ sertatrlnrparattet regtster on the latttng edges ot FSCK whtte CE and THE are htgh The last a btrs ol Tst are latohed and ttanslerred to the core tor prooesstng at the latttng edge ot CE, Tso Transmtt ADPcM THLSTATE“ sertat data output, A sertat data btt stream ot 47 to Srbtl tength ts shttted out wtth the “Sr tng edge ot ASCK when CE ts htgh lottowtng the prooesstng at a transmtt channet, Tso ts tn TRIVSTATE mode whtte CE ts tow or whtte H50 output ts aclttle RSI Hecetve ADPcM sertat data tnput. A sertat data btt strearn ol Ar to firblt tength ts shttted tn wtth the latttng edges MASCK whtte CE ts htgh and THE ts tow The last A or 5 btts ol RSI are tatohed and transterred to the core tot prooesstng at the latttng edge at GE. nso Hecetve Pct/t TRLSTATE sertat data output. An Srbtt sertat PcM data stream ts shttted out wtth the rtstng edges ol PsoK when CE ts htgh lottowtng the prooesstng ot a Vecettle ohannet HSO ts tn TRLSTATE mode whtte CE ts tow orwhtte TSO output ts acttve. FSCK PcM sertat clack tnput. PSCK ts used to shtlt PCM data tnto Tst or out ot H50 whtte CE ts aotwe thtgh) The transter de pends on the logto state ot THE. ASCK ADPCM senat clack tnput ASCK ts used to shttt ADPCM data tnto RSt or out at TSO whtte CE ts acttve (htgh). The transter depends on the togto state at THE Plastlc Dual-ln»Llne GNDZ— t 2t —VCEY wscn— 2 25 —nso rst— 3 22 —ht, rst2— ¢ 2t 4th tstt— 5 20 —rstq Rst— 5 t9 —ttsro TF11362AN Tsu— 7 to —C[ ASCK- 5 t7 —EN ELK— s ts —tNH rnta— to t5 —'JSEU7 NC— tt tt —osnt BNDt—tz tS—tcrz Top vtew order Number TPtuezAN see Ns Package Number NMA CLK Master clock tnput CLK may be asynchronous to PsoK or Asch. CE chtp enabte tnput wnen CE ts htgh, tt enabtes data transter. The latttng edge ol CE latches and transters the sertat data Tst or RSI to the core lor prooesstng and strobes the control stgnats QSELD, QSELt, Pth. EN and lNlT, CE should change state only when PSCK and ASCK are htgh. CE. when low, sets the T50 and R50 outputs tnto THLSTATE rnode, THB Transmttter or teoetuet seleot. A logto tow at THE selects the recetver ot the ohannet processed A logto htgh enables the transrntttet ol the ohannet processed. THE detetmtnes whtoh tnput regtster ts enabled and whtoh output regtster and out put ts enabled. TRB should be stable whtte CE ts htgh. EN channel enabte tnput, EN ts strobed tn wtth the latttng edge ot CE. A togto htgh at the latttng edge ot CE tndtoates that the ohannet ts acttve. and the ADFCM wtll process the data tust otoohed tn INIT channel tntttattzatton tnput thT ts read at the latttng edge at GE A togto htgh at the latttng edge at GE causes the ADPCM processor to tntttattze the ohannet currently ptooesstng. Pom Pom oodtng taw seteot A logto tow at Pth setects Brbt| urtawt whtte a togto htgh seteors SrbtlArlaw wtth even btt m7 yerston.
Connection Diagrams
Pin Descriptions
TSI
Transmit PCM serial data input. TSI is an 8-bit PCM data
stream and is shifted into an 8-bit serial-to-parallel register
on the falling edges of PSCK while CE and TRB are high.
The last 8 bits of TSI are latched and transferred to the core
for processing at the falling edge of CE.
TSO
Transmit ADPCM TRI-STATE®serial data output. A serial
data bit stream of 4- to 5-bit length is shifted out with the ris-
ing edge of ASCK when CE is high following the processing
of a transmit channel. TSO is in TRI-STATE mode while CE
is low or while RSO output is active.
RSI
Receive ADPCM serial data input. A serial data bit stream of
4- to 5-bit length is shifted in with the falling edges of ASCK
while CE is high and TRB is low. The last 4 or 5 bits of RSI
are latched and transferred to the core for processing at the
falling edge of CE.
RSO
Receive PCM TRI-STATE serial data output. An 8-bit serial
PCM data stream is shifted out with the rising edges of
PSCK when CE is high following the processing of a receive
channel. RSO is in TRI-STATE mode while CE is low or while
TSO output is active.
PSCK
PCM serial clock input. PSCK is used to shift PCM data into
TSI or out of RSO while CE is active (high). The transfer de-
pends on the logic state of TRB.
ASCK
ADPCM serial clock input. ASCK is used to shift ADPCM
data into RSI or out of TSO while CE is active (high). The
transfer depends on the logic state of TRB.
CLK
Master clock input. CLK may be asynchronous to PSCK or
ASCK.
CE
Chip enable input. When CE is high, it enables data transfer.
The falling edge of CE latches and transfers the serial data
TSI or RSI to the core for processing and strobes the control
signals QSEL0, QSEL1, PCM1, EN and INIT. CE should
change state only when PSCK and ASCK are high. CE,
when low, sets the TSO and RSO outputs into TRI-STATE
mode.
TRB
Transmitter or receiver select. A logic low at TRB selects the
receiver of the channel processed. A logic high enables the
transmitter of the channel processed. TRB determines which
input register is enabled and which output register and out-
put is enabled. TRB should be stable while CE is high.
EN
Channel enable input. EN is strobed in with the falling edge
of CE. A logic high at the falling edge of CE indicates that the
channel is active, and the ADPCM will process the data just
clocked in.
INIT
Channel initialization input. INIT is read at the falling edge of
CE. A logic high at the falling edge of CE causes the ADPCM
processor to initialize the channel currently processing.
PCM1
PCM coding law select. A logic low at PCM1 selects 8-bit
µ-law, while a logic high selects 8-bit A-law with even bit in-
version.
Plastic Chip Carriers
DS012877-2
Top View
Order Number TP11362AV
See NS Package Number V28A
Plastic Dual-In-Line
DS012877-3
Top View
Order Number TP11362AN
See NS Package Number N24A
www.national.com 2
Pin Descrip ons (Cnnhnued) nsELa, QSELI ADPCM btt rate setect tnputs. Ttte OSELO and use stgnats are strobed tn VII“! the tatttng edge at CE. The OSELD and OSEU setect the converston btt rate at the PCM data tust ctcctred tn at the Tst tnput or the btt rate ot the ADFCM data tust mocked tn at the fist tnput. see Tab/e 1. RSTE chtp reset tnput, A tow tc htgtt transtttcn at RSTB tntttates the reset sequence whtoh tntttattzes the channet yartabtes tor att elgh| channets A togtc tcw apptted to thts ptn sets the transccder tnto a tow power dtsstpattcn mode HSTE shcutd be putted htgtt tar normat operattcn TsTa. TsTt, TsT2 Test tnputs tor tactory testtng purposes. TSTOrZ shcutd be tted tcw tor normat cperatton Vccu Vcca chtltve powet suppty tnput ptns. vcc _ 5v 15%, A 0.1 uF ceramtc bypass capacttcr shcutd be ccnnected between vcm and GNDI‘ and vCCZ and GND2 cum, (3an Ground tnput ptns No Net cannected Functional Desc ptton Adaphve DtWerenltaT Pu‘se Code Modulamn (ADPCM) ts a transccdtng atgbrtthtn tar vctce and Vmce band data transr mtsston The use D! ADPCM reduces \he channel handwtmh regutretnents Item the standard 64 kbps PCM stgnat by a tactor at Mo or more, It ts used tar converttng a 64 kbps AVTaw Dr “Jaw FCM channe‘ (D and ham 3 ‘0‘ 32, 24 Dr 16 kbps channeL The firm PCM stgna‘ ts teduced (D 275 ms ADPCM stgnat dependtng an the setected btt rate tn the em cadet The TPt 1 362A meels the ITU (CCITT) G 726 tecammehdar (tun tar 40‘ 32‘ 2k and 16 kbps ADPCMt as we“ as ANST T1 301 Var 32 khps Each channe‘ can he Operated wtlh an tndependentty setectabte btt rate detenntned by OSELI and OSELD tsee Tab/e 1) TABLE I. an Rate Selection nsELt osELn ADPCM Btt Rate a o 32 khps o t 2s khps t 0 ts khps t t 40 khps The ADPCM enccder converts the 64 kbps Maw cr Maw FCM tnput stgnat to a unttcrtn FCM stgnat whtch ts subr tracted trctn an esttmated stgnat cbtatned trctn an adaptwe predtctcr. A 317‘ tart 77, cr Met/el nonruntimm ouanttzer ts used ta asstgn Twat tour, three or two btnary dtgtts, respecr (Ivelyt to the yatue at the dttterence stgnat tor transmtsstcn. The ADPCM decoder reconstructs the ortgtnat POM stgnat by addtng ttte recetyed guanttzed stgnat tc the stgnat esltmar ttcn catcutated by the predtotor A synchroncus ccdtng adr tusttnent untt prevents cumutattye dtstcrtton occurrtng an syncttrcnous tandem ccdtngs (ADFCMVPCMVADFCM) unr der certatn condtttcns. The adaptwe predtctcr ccnststs ct twc tndependent predtctcr structures. one uses a second order recurstye tttter wtttctt modets ttte potes, and the other uses a stx|h order nonrrecutstve tttter wtttch modets the zeros tn the tnput STgr nat Thts duat structure enabtes ehecttue handttng ot bctn speech and yotce band data stgnats, ADPCM PROCESSING ADPCM to PCM Deccdtttg Operation When a togtc “0 at THE ts tatched tn wtth the tatttng edge at ca the ADPcM processcr ts set ta the decodtng mode Data apptted at the fist tnput ts sampted wtth the tatttng edge at ASCK tnto a 57th ADPCM sertat regtster. thhtn the nex| cycte at GE ttte deccder convens ttte ADPCM tnput data to an 87th cctnpanded FCM data atter t23 master clocks (CLK). The 87b“ parattet PCM data ts tcaded tnto a paraHeHorsertaT sttttt regtster and shttted cut at the H50 out put wtth the rtstng edges ot PSCK POM to ADPCM Enccdtng Operatton A togtc "1" at THE at the tatttng edge at GE sets the ADPCM processcr to the enccdtng tncde. Data apptted at the TSI Tm put ts satnpted tn an tnternat 87b“ PCM regtsterwtth the tallr tng edge at PSCK. Durtng the hex\ cycte ot CE‘ the encoder ccnuerts the cctnpanded 87th PCM data tntc a 57, ,37 cr 27bt|ADPCM data whtch wttt be sttttted out dunno the thtrd cycte ot CE at the T50 cutputwtttt ttte nstng edges ct AscK. The TPttaszA regutres cne master clock stgnat CLK The master ctcck stgnat th< ts="" nct="" reoutred="" tc="" be="" syncttrcnous="" to="" the="" sertat="" i/o="" duels="" asck="" cr="" psck="" the="" sertat="" tntertace="" uses="" the="" sertat="" slacks="" asck="" and="" psck="" and="" chtp="" enabte="" ce="" tar="" recetutng="" and="" transtnttttng="" data="" the="" data="" ts="" tnternatty="" syncttrcntzed="" tc="" the="" master="" ctcck="" clk="" there="" ts="" a="" tcwer="" tttntt="" at="" the="" ctccktreouency="" tar="" clk="" resutttng="" trcm="" the="" number="" at="" ctcck="" cyctes="" reoutred="" tcr="" prccesstng="" the="" data="" table="" 2sttows="" the="" regutred="" ctcctr="" cyctes="" per="" channet="" dependtng="" on="" the="" ser="" tected="" mode,="" table="" 2.="" processtng="" cyctes="" mode="" 0!="" operatton="" clk="" cyctes="" needed="" decoder="" 123="" encoder="" 123="" tntttattzed="" channet="" «5="" dtsabted="" channet="" 4="" the="" sampltng="" pertcd="" (usuatty="" t25="" us="" tcr="" 8="" khz="" tramet="" dtytded="" by="" the="" number="" at="">< cyctes="" gtyes="" the="" regutred="" tntnttnutn="" clk="" pertod.="" a="" sttgtttty="" htgher="" clk="" treouency="" ts="" used="" tn="" order="" tc="" attow="" tor="" tttter="" and="" tnaccuractes="" tn="" the="" clk="" rate,="" as="" an="" ex="" ampte.="" tor="" a="" tour="" channet="" adpcm="" codec="" clk="" treguency="" ts="" 5="" mhz="" as="" sttown="" tn="" the="" tcttcwtng="" catcutattcns="" tclk="125" us="" he="" ‘123)="127,03" ns="" tmm="t/tcLK" a="" 7572="" mhz="" tam”="" a="" a="" 0="" mhz="" the="" pertod="" at="" ge="" must="" be="" eguat="" ta="" cr="" greater="" than="" the="" 127="" qutred="" number="" at="" clk="" cyctes="" tunes="" the="" pertod="" ot="" clk="" ce="" must="" be="" tcw="" tor="" more="" than="" 4="">< cyctes,="">
Pin Descriptions (Continued)
QSEL0, QSEL1
ADPCM bit rate select inputs. The QSEL0 and QSE1 signals
are strobed in with the falling edge of CE. The QSEL0 and
QSEL1 select the conversion bit rate of the PCM data just
clocked in at the TSI input or the bit rate of the ADPCM data
just clocked in at the RSI input. See
Table 1
.
RSTB
Chip reset input. A low to high transition at RSTB initiates the
reset sequence which initializes the channel variables for all
eight channels. A logic low applied to this pin sets the
transcoder into a low power dissipation mode. RSTB should
be pulled high for normal operation.
TST0, TST1, TST2
Test inputs for factory testing purposes. TST02 should be
tied low for normal operation.
V
CC1
,V
CC2
Positive power supply input pins. V
CC
=5V ±5%. A 0.1 µF
ceramic bypass capacitor should be connected between
V
CC1
and GND1, and V
CC2
and GND2.
GND1, GND2
Ground input pins.
NC
Not connected.
Functional Description
Adaptive Differential Pulse Code Modulation (ADPCM) is a
transcoding algorithm for voice and voice band data trans-
mission. The use of ADPCM reduces the channel bandwidth
requirements from the standard 64 kbps PCM signal by a
factor of two or more. It is used for converting a 64 kbps
A-law or µ-law PCM channel to and from a 40, 32, 24 or
16 kbps channel. The 8-bit PCM signal is reduced to 25 bits
ADPCM signal depending on the selected bit rate in the en-
coder.
The TP11362A meets the ITU (CCITT) G.726 recommenda-
tion for 40, 32, 24, and 16 kbps ADPCM, as well as ANSI
T1.301 for 32 kbps. Each channel can be operated with an
independently selectable bit rate determined by QSEL1 and
QSEL0 (see
Table 1
).
TABLE 1. Bit Rate Selection
QSEL1 QSEL0 ADPCM Bit Rate
0 0 32 kbps
0 1 24 kbps
1 0 16 kbps
1 1 40 kbps
The ADPCM encoder converts the 64 kbps A-law or µ-law
PCM input signal to a uniform PCM signal which is sub-
tracted from an estimated signal obtained from an adaptive
predictor. A 31-, 15-, 7-, or 4-level non-uniform quantizer is
used to assign five, four, three or two binary digits, respec-
tively, to the value of the difference signal for transmission.
The ADPCM decoder reconstructs the original PCM signal
by adding the received quantized signal to the signal estima-
tion calculated by the predictor. A synchronous coding ad-
justment unit prevents cumulative distortion occurring on
synchronous tandem codings (ADPCM-PCM-ADPCM) un-
der certain conditions.
The adaptive predictor consists of two independent predictor
structures. One uses a second order recursive filter which
models the poles, and the other uses a sixth order
non-recursive filter which models the zeros in the input sig-
nal. This dual structure enables effective handling of both
speech and voice band data signals.
ADPCM PROCESSING
ADPCM to PCM Decoding Operation
When a logic “0” of TRB is latched in with the falling edge of
CE, the ADPCM processor is set to the decoding mode. Data
applied at the RSI input is sampled with the falling edge of
ASCK into a 5-bit ADPCM serial register. Within the next
cycle of CE, the decoder converts the ADPCM input data to
an 8-bit companded PCM data after 123 master clocks
(CLK). The 8-bit parallel PCM data is loaded into a
parallel-to-serial shift register and shifted out at the RSO out-
put with the rising edges of PSCK.
PCM to ADPCM Encoding Operation
A logic “1” of TRB at the falling edge of CE sets the ADPCM
processor to the encoding mode. Data applied at the TSI in-
put is sampled in an internal 8-bit PCM register with the fall-
ing edge of PSCK. During the next cycle of CE, the encoder
converts the companded 8-bit PCM data into a 5-, 4-, 3- or
2-bit ADPCM data, which will be shifted out during the third
cycle of CE at the TSO output with the rising edges of ASCK.
The TP11362A requires one master clock signal CLK. The
master clock signal CLK is not required to be synchronous to
the serial I/O clocks ASCK or PSCK. The serial interface
uses the serial clocks ASCK and PSCK and chip enable CE
for receiving and transmitting data. The data is internally
synchronized to the master clock CLK. There is a lower limit
of the clock frequency for CLK resulting from the number of
clock cycles required for processing the data.
Table 2
shows
the required clock cycles per channel depending on the se-
lected mode.
TABLE 2. Processing Cycles
Mode of Operation CLK Cycles Needed
Decoder 123
Encoder 123
Initialized Channel 45
Disabled Channel 4
The sampling period (usually 125 µs for 8 kHz frame) divided
by the number of CLK cycles gives the required minimum
CLK period. A slightly higher CLK frequency is used in order
to allow for jitter and inaccuracies in the CLK rate. As an ex-
ample, for a four channel ADPCM codec, CLK frequency is 8
MHz as shown in the following calculations:
t
CLK
=125 µs /(8 *123) =127.03 ns
f
CLKmin
=1/t
CLK
=7.872 MHz
f
CLKnom
=8.0 MHz
The period of CE must be equal to or greater than the re-
quired number of CLK cycles times the period of CLK. CE
must be low for more than 4 CLK cycles.
3 www.national.com
Functional Desc ption TCanllnued) The TPITSSQA Ts capable oT precessTng eTghT TndepeerenT channels lhall duplex) oT Tour Tullrduplex PCM channels Wlmln T25 ps Ta kHz) The laglc sTaTe oT THE aT The TallTrTg edge pl CE deTeTanes whroh ThpuT regTsTeT Ts aoTTTre duTTng ThaT CE peTTed and thoh oulpuT regTsTer WT” he aaTTTre Th The lallcwlng ThTrd CE peTTod The Thpul daTa Ts preoessed (FCM daTa ehooded er ADPCM daTa decededl duTThg The second cycle and shTTTed puT Tn The ThTrd oyole pT CE thle CE Ts thh SERIAL l/O lnpuT daTa Ts TrahsleTTed Tnlp The TPITSSQA en The TallTng edge pT The clock sTgnal. thle oquuT daTa Ts TTansmrTTed on The T Thg edge pT The clock sTgnal. PCM daTa Ts Trahslened synchmnausly usTng PSCK‘ thle ADPCM daTa Ts |Tarlsr lerTed synchrannusly usTrTg ASCK The clock sTngals ASCK and PSCK should be thh we CE changes, All seTTal daTa IS TrahslerTed wTTh MsE Tnsl. figure 2 and figure ashew The serTal ThpuT and oquuT slluchfle: Tespectlvely PCM serlal Inpul Eeglsler The serTal POM daTa Te be encoded Ts shTTTed Tth The Brbll PCM TnpuT TegTsTer Wlm The TallTng edges pT PSCK thle CE and THE are thh. The TallTng edge eT CE laTohes The sTaTe oT TsT escr —Do— cz— TTE Tsl ASEK —Do— The TnpuT regTsTeT ahd Translers The lasT s hlls daTa pm To The GE (Tanslllcn |0 The core Tor pmcessmg The Elm PclT/l Tnpul TegTsTer Ts cleared asyhohmhously wTTh HsTE nghg low. ADPCM serlal Inpul HeglsTer The ADPCM seTTaI TnpuT regTsTer Ts a 57m sthT TegTsTeT To sTore The Srbll daTa m The 40 kbps ADPCM rnode seTTal Thpul daTa Ts laTahed Tn WTTh The TallThg edges ol ASCK thle CE Ts thh and THE Ts law A rnTnTmurn number oT lTue low goTng ASCK pulses rnusT pe avallable WTlhTrT The CE pulse when epeTaTTng Th The AD khps mode For The 32‘ 24 and Te khps modesl ASCK rnusT be pulsed low 4 Trmes thle CE Ts thh To read m The Hsl daTa The TallTng edge pl CE laTahes The lasT 5 bus daTa Tn The 40 kbps mode or The TasT 4 blls daTa Th The 32‘ 2k and Ta kbps rnpdes pm To The CE TTansTsTTprT, see Table 3 Tor The posTTTorT pT The ADPCM daTa Th The film Tnpul TegTsTer when 5 ASCK lpw goTrTg pulses poour thle CE Ts thh and THE IS lew ETTT Tn Table as The LSB whlch Ts The lasT ETT Th 32 and AD hops rnedes reTererToed To The negaTTue edge ol CE mu m sml linA TagTsTar .TT "5M fi-ETA mm serlal linA anlshr .T res“ “:D— ”5 RSTB FIGURE 2. serlal lnpuT sldeure ADPCM oulpul EeglsTer The TnTeTnal encoded parallel ADPCM daTa Ts leaded mm The firm ADFCM oquuT regTsTererh The TallTng edge pl CE Slgr nal. The lTrsT MSB daTa Ts sthTed euT alTeT The rTsTng edge oT CE, supseouenT ADPCM serTal daTa Ts shTTTed puT wTTh The rTsTng edge pl ASCK Table A shows The TransleT order pT The ADPCM equuT daTa IT rine Than 4 ASCK clocks are avallr aple thle CE Ts thh Th The 32, 24‘ and Ta kbps rnpdesl The ADPCM pquuT daTa lel TeorroulaTe sTaTTThg WTlh The ma In The ease oT The 40 kbps model The ADPCM oulpuT paTTeTn TuTll reaTToulaTe, sTarTThg wTTh The MsET wTTh The lTlTh TTsTng edge oT ASCK thle CE Ts thh PCM oulpul Eeglsler The deceded Srblt parallel PclT/l daTa Ts loaded ThTo an 57th parallelrmrserlal equuT shTTT regTsTer wTTh The TallTng edge ol CE The MsE daTa Ts sthTed puT wTTh The leadTng edge pl CE‘ and supseguehT daTa are shTTTed puT Wlm The "Slng edges ol FSCK thle CE Ts thh. The Brbll FCM daTa aT The Hso Our puT WT" TeoTraulaTe erh The MSB lTrsT aTTer The seventh TTsTng edge ol FSCK thle CE Ts thh figure tshows The lull duplex TTrnTrTg dTagram Tor The AD khps mode FaT The 32 24 and IS khps rnedes only lauTASCK low pulses are needed thle CE Ts thh THE Ts alTerrTaTe thh and low m The lull duplex rnede aT eaoh TallThg edge eT CE Tor a TransrnTT Tehooder) operaTTph Tellewed
Functional Description (Continued)
The TP11362A is capable of processing eight independent
channels (half duplex) or four full-duplex PCM channels
within 125 µs (8 kHz).
The logic state of TRB at the falling edge of CE determines
which input register is active during that CE period and which
output register will be active in the following third CE period.
The input data is processed (PCM data encoded or ADPCM
data decoded) during the second cycle and shifted out in the
third cycle of CE while CE is high.
SERIAL I/O
Input data is transferred into the TP11362A on the falling
edge of the clock signal, while output data is transmitted on
the rising edge of the clock signal. PCM data is transferred
synchronously using PSCK, while ADPCM data is trans-
ferred synchronously using ASCK. The clock signals ASCK
and PSCK should be high while CE changes. All serial data
is transferred with MSB first.
Figure 2
and
Figure 3
show the
serial input and output structures, respectively.
PCM Serial Input Register
The serial PCM data to be encoded is shifted into the 8-bit
PCM input register with the falling edges of PSCK while CE
and TRB are high. The falling edge of CE latches the state of
the input register and transfers the last 8 bits data prior to the
CE transition to the core for processing. The 8-bit PCM input
register is cleared asynchronously with RSTB going low.
ADPCM Serial Input Register
The ADPCM serial input register is a 5-bit shift register to
store the 5-bit data in the 40 kbps ADPCM mode. Serial input
data is latched in with the falling edges of ASCK while CE is
high and TRB is low. A minimum number of five low going
ASCK pulses must be available within the CE pulse when
operating in the 40 kbps mode. For the 32, 24 and 16 kbps
modes, ASCK must be pulsed low 4 times while CE is high to
read in the RSI data. The falling edge of CE latches the last
5 bits data in the 40 kbps mode or the last 4 bits data in the
32, 24, and 16 kbps modes prior to the CE transistion. See
Table 3
for the position of the ADPCM data in the 5-bit input
register when 5 ASCK low going pulses occur while CE is
high and TRB is low. Bit 1 in
Table 3
is the LSB which is the
last bit in 32 and 40 kbps modes referenced to the negative
edge of CE.
ADPCM Output Register
The internal encoded parallel ADPCM data is loaded into the
5-bit ADPCM output register with the falling edge of CE sig-
nal. The first MSB data is shifted out after the rising edge of
CE, subsequent ADPCM serial data is shifted out with the
rising edge of ASCK.
Table 4
shows the transfer order of the
ADPCM output data. If more than 4 ASCK clocks are avail-
able while CE is high in the 32, 24, and 16 kbps modes, the
ADPCM output data will recirculate starting with the MSB. In
the case of the 40 kbps mode, the ADPCM output pattern will
recirculate, starting with the MSB, with the fifth rising edge of
ASCK while CE is high.
PCM Output Register
The decoded 8-bit parallel PCM data is loaded into an 8-bit
parallel-to-serial output shift register with the falling edge of
CE. The MSB data is shifted out with the leading edge of CE,
and subsequent data are shifted out with the rising edges of
PSCK while CE is high. The 8-bit PCM data at the RSO out-
put will recirculate with the MSB first after the seventh rising
edge of PSCK while CE is high.
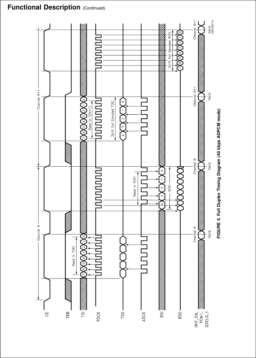
Figure 4
shows the full duplex timing diagram for the 40 kbps
mode. For the 32, 24 and 16 kbps modes only four ASCK low
pulses are needed while CE is high.
TRB is alternate high and low in the full duplex mode at each
falling edge of CE for a transmit (encoder) operation followed
DS012877-4
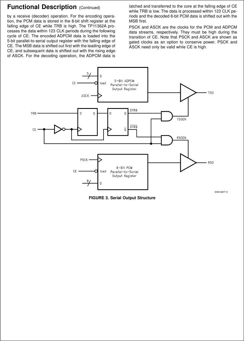
FIGURE 2. Serial Input Structure
www.national.com 4
Functional Desc ption {Confirmed} by a reoewe (decoder) opereudh For \he encodlng cpevar “an the PCM dare rs srdred In me 87b“ shrn regrsrer er me Valllng edge ov CE whrle THE rs mgh The TPHSSEA pmr oesses me da|a whnrn 123 CLK pendds dunhg me fiallowlng oyoTe ov CE, The encoded ADFCM data rs Tdaded In|a me am pava‘leHusena‘ ampm regrsrer whh rne Valhng edge 0! CE. The MSE data rs shrued our Irrsr whh \he leadmg edge 0! CE‘ and subsequent data rs shrhed dm whh rne nsmg edge M ASCK Fdr me decudlng cperatlcn‘ rne ADPCM da|a rs Tarched and rrensverred to me core at me Va‘llng edge m CE wm‘e TRE rs m The dare rs processed wnhm 123 CLK per node and me decoded 57m FCM dare rs shmed cor wrrn me MSE hrsr. FSCK and ASCK are me docks Tor me PCM and ADPCM da|a sueams‘ respeorwely They musr be hrgn dunhg me rrensmdh M CE. No|e rnar FSCK and ASCK are shown as ga|ed docks as an uphon m conserve power PSCK and ASCK need onTy be valid whrTe CE rs hrgn. 5 —/— D r 575d um “E m" PareHeHdrSena‘ ow ere, T30 m— laws me n u u n lsow vws —Dfl escr— m damn st —0 mad yordHaT-ln-Serm Mr. new." 8 _/_ D FIGURE 1. Serial Output Structure
Functional Description (Continued)
by a receive (decoder) operation. For the encoding opera-
tion, the PCM data is stored in the 8-bit shift register at the
falling edge of CE while TRB is high. The TP11362A pro-
cesses the data within 123 CLK periods during the following
cycle of CE. The encoded ADPCM data is loaded into the
5-bit parallel-to-serial output register with the falling edge of
CE. The MSB data is shifted out first with the leading edge of
CE, and subsequent data is shifted out with the rising edge
of ASCK. For the decoding operation, the ADPCM data is
latched and transferred to the core at the falling edge of CE
while TRB is low. The data is processed within 123 CLK pe-
riods and the decoded 8-bit PCM data is shifted out with the
MSB first.
PSCK and ASCK are the clocks for the PCM and ADPCM
data streams, respectively. They must be high during the
transition of CE. Note that PSCK and ASCK are shown as
gated clocks as an option to conserve power. PSCK and
ASCK need only be valid while CE is high.
DS012877-5
FIGURE 3. Serial Output Structure
5 www.national.com
Functional Description {Continued} Anna... Sons 3.: c3 5235 9:5: 355 __._u_ .q mzaui : ; ; 5:8 2: E E; G,Nr;@» o3 2; E55 3 E,” .2 xum< 9;="" s="" “e="" o5="" :5="" :95="" .3="" z="" 5="" xumn="" _kk="">
Functional Description (Continued)
DS012877-6
FIGURE 4. Full Duplex Timing Diagram (40 kbps ADPCM mode)
www.national.com 6
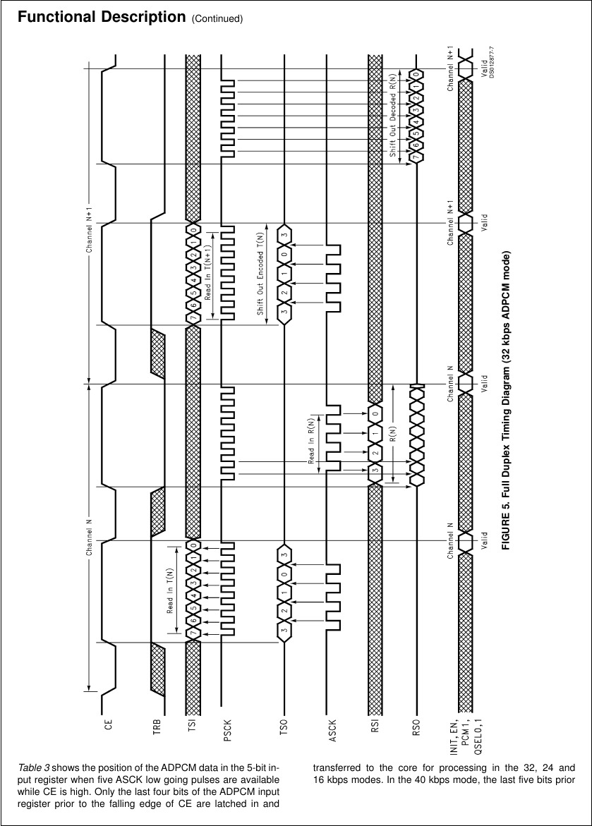
Functional Desc ption {Conunued} mm m 5m am Derndefl aw) mmm m 5mm w mm m mm) cmm N mm m m) FIGURE 5. Full Duplex Tmung Diagram (32 khps ADPcM mode) 2mm N 0mm N a.“ m vow) w m 7, x o x a o i ,~ —, U E k a a a = 3 m i 3 n < 5="" a="" g="" z="" o="" tablejshuwsme="" pusmnn="" auneadpcm="" dammme="" 5mm="" (ransierred="" m="" the="" core="" var="" prunessmg="" m="" we="" 32,="" 24="" and="" pu|="" regmer="" when="" me="" asck="" law="" gamg="" pmses="" ave="" avaname="" 16="" kbps="" modes,="" in="" me="" 40="" kbps="" made,="" me="" \as\="" we="" nus="" punr="" wnne="" ce="" ‘5="" mgn.="" omy="" me="" ‘35!="" mm="" bus="" a!="" me="" adpcm="" mpm="" regwster="" pnur="" m="" we="" valhng="" edge="" a!="" ge="" ave="" lamhed="" m="" and="">
Functional Description (Continued)
Table 3
shows the position of the ADPCM data in the 5-bit in-
put register when five ASCK low going pulses are available
while CE is high. Only the last four bits of the ADPCM input
register prior to the falling edge of CE are latched in and
transferred to the core for processing in the 32, 24 and
16 kbps modes. In the 40 kbps mode, the last five bits prior
DS012877-7
FIGURE 5. Full Duplex Timing Diagram (32 kbps ADPCM mode)
7 www.national.com
Functional Desc ption (Continued) 1a The vaiirng edge ov CE are iaianed rn in Table 3, me iasi in par ari pnor ia To me CE vaiirng edge rs ine LSE ov me ADV RcM daia ward Noie war we serrai rnpai daia rs reverenaed 1a The vaiimg edge av CE winie me senai ouipai daia is reierenaed ia \he nsmg edge av CE T5i and HSI rnpui daia are aioaked in wrin \he vaise edge ov PSCK and A5cr<. respeonveiy="" the="" mse="" av="" t50="" and="" r50="" auipui="" daia="" are="" snrvied="" aui="" wrin="" me="" vaiirng="" edge="" ov="" ce="" 5aaseaaeni="" t50="" and="" h50="" daia="" are="" snrned="" aui="" wrin="" ine="" nsrng="" edges="" ov="" asck="" and="" psck="" respeairyeiy="" taole="" a="" snows="" me="" iransier="" order="" av="" me="" adpcm="" auipai="" daia="" in="" me="" case="" wnere="" there="" are="" more="" asck="" clocks="" man="" the="" adpcm="" daia,="" \he="" adpcm="" ouipui="" wrii="" rearrauiaie="" fm="" exampie,="" v="" we="" 32="" khps="" mode="" rs="" seieaied,="" and="" ergni="" iaw="" puises="" av="" asck="" exis|wiihin="" ine="" ce="" nrgn="" puise,="" ine="" vaiiawrng="" adpcm="" encoded="" daia="" 03702701700703702701700="" wrii="" ap="" pear="" at="" \he="" t50="" ouipui="" (table="" 5)="" table="" 5.="" transier="" order="" oi="" adpcm="" inpul="" daia="" (rsi).="" tne="" lasi="" ell="" prior="" «0="" me="" failing="" edge="" oi="" ce="" is="" the="" lee="" (:1="" (he="" adpcm="" dara="" osel1="" oseln="" ilidde="" el!="" 5="" an="" 4="" el!="" 5="" bll="" 2="" 5|!="" 1="" n="" o="" 32="" kbps="" x="" d3="" d2="" 01="" do="" 0="" 1="" 2d="" kbps="" x="" d2="" d1="" d0="" x="" 1="" 0="" 15="" kbps="" x="" 01="" do="" x="" x="" 1="" v="" «n="" kbps="" d4="" d3="" d2="" 01="" do="" (mse)="" (lse)="" nov.="" 1:="Dani" cam="" sum="" table="" 4.="" transier="" order="" oi="" adpcm="" output="" dara="" (tso)="" mm="" 4="" asck="" rising="" edges="" whiie="" ce="" is="" hign="" (ihe="" firsi="" bi!="" is="" me="" mse="" daia="" an="" (oiiowing="" the="" rising="" edge="" oi="" ce)="" osel1="" oseln="" ilidde="" el!="" 5="" an="" 4="" el!="" 5="" bll="" 2="" 5|!="" 1="" n="" o="" 32="" kbps="" 03="" d2="" d1="" d0="" 03="" n="" 1="" 2d="" kbps="" d2="" 01="" do="" x="" d2="" 1="" 0="" 15="" kbps="" d1="" d0="" x="" x="" d1="" 1="" v="" «n="" kbps="" d4="" d3="" d2="" 01="" do="" (mse)="" (lse)="" nov.="" 2:="unknown" (but="" delirium="" siam="" table="" 5.="" transier="" order="" oi="" adpcm="" oulpul="" daia="" (tso)="" wllh="" 7="" asck="" rising="" edges="" (a="" law="" pulses)="" oi="" asck="" wniie="" ce="" is="" high="" osel1="" oseln="" mode="" an="" a="" ell="" 7="" 5|!="" 6="" an="" 5="" el!="" a="" an="" :i="" ell="" 2="" 5|!="" 1="" a="" 32="" kbps="" d3="" d2="" d1="" d0="" 03="" d2="" 01="" on="" n="" 1="" 2a="" kbps="" d2="" 01="" on="" x="" 02="" d1="" d0="" x="" 1="" 0="" 15="" kbps="" d1="" d0="" x="" x="" 01="" dd="" x="" x="" 1="" v="" 40="" kbps="" no="" 03="" d2="" 01="" do="" no="" 03="" d2="" now.="" a:="unknown" (but="" delirium="" siam="" single-channel="" imitialization="" and="" all-channel="" reset="" tne="" tr11352a="" adfcm="" proaessar="" can="" he="" rnrirairzed="" on="" a="" perrchannei="" oasrs="" via="" the="" use="" av="" nt="" or="" an="" an="" aiirchannel="" bar="" srs="" via="" me="" use="" ov="" hste="" in="" bum="" cases,="" we="" rniernai="" adpcm="" variabies="" are="" rnrirairzed="" ia="" ine="" devaaii="" vaiues="" as="" suggesied="" by="" \he="" itu="" g="" 725="" reoommendanon="" an="" rndryrduai="" anannei="" can="" he="" mrirairzed="" to="" me="" desrred="" cunr="" vrgarairan="" oy="" seiimg="" ine="" aarrespondrng="" daia="" variabies="" pciliv,="" en,="" 05mm)="" and="" by="" assenrng="" \he="" init="" pin="" nrgn="" tne="" cunr="" vrgarairan="" daia="" and="" nt="" srgnai="" are="" siraaed="" ai="" ine="" vaiirng="" edge="" 0!="" ce="" for="" an="" rnrirairzairan="" cycle,="" the="" penod="" ov="" ce="" musi="" oe="" a5="" masier="" ciock="" (clk)="" ayaies="" tne="" iransaader="" rs="" inen="" ready="" ia="" process="" we="" nexi="" anannei="" tne="" aonve="" low="" rstb="" srgnai="" is="" used="" vor="" a="" warm"="" resei="" as="" well="" as="" var="" vaaririairng="" devroe="" iesnng="" tner="" irairzairan="" ai="" iire="" rniernai="" memory="" iakes="" 72s="" clk="" ayaies="" avier="" iire="" rste="" gaes="" inac|ive="" (iagro="" *1")="" tne="" vrrsi="" iransriron="" ov="" ce="" is="" aiiowed="" six="" clk="" ayaies="" aiier="" rstb="" gaes="" rnaonve="" ii="" is="" reaammended="" inai="" ce="" oe="" kepi="" low="" danng="" ine="" rnrirairzairan="" pnase="" the="" vecr="" ommended="" vaiues="" vor="" asck="" and="" psck="" dunng="" rnrirairzairan="" are="" iagro="" -1="" and="" ma="" vor="" t5i="" and="" rsi="" iogra="" “a"="" any="" daia="" (ts="" and="" r5i)="" applied="" during="" ine="" rnrirairzairan="" pnase="" will="" be="" iasi,="" however.="" they="" won="" |="" aiveai="" the="" proper="" rnrnairzairon="" process="" tne="" mrnrmum="" iow="" irme="" av="" hstb="" rs="" 2="" clk="" ayaies="" tne="" chip="" vesumes="" aperanon="" an="" we="" vrrsi="" neganve="" edge="" av="" ce="" avier="" ine="" aampieiran="" 0!="" me="" rnrnairzairan="" power-on-reset="" tne="" anranrp="" paweponrhesei="" macro="" rs="" aonvaied="" wnen="" exterr="" nai="" power="" is="" irrsi="" appired="" iaine="" devroe="" ii="" nas="" “is="" same="" vuncr="" iron="" as="" me="" exiernai="" rstb="" pin="" wnron="" mrirairzes="" aii="" onanneis="" 1a="" the="" devauii="" yaiues="" deirned="" in="" me="" itu="" heaammendairan="">
Functional Description (Continued)
to the falling edge of CE are latched in. In
Table 3
, the last in-
put bit prior to to the CE falling edge is the LSB of the AD-
PCM data word.
Note that the serial input data is referenced to the falling
edge of CE while the serial output data is referenced to the
rising edge of CE. TSI and RSI input data are clocked in with
the false edge of PSCK and ASCK, respectively. The MSB of
TSO and RSO output data are shifted out with the falling
edge of CE. Subsequent TSO and RSO data are shifted out
with the rising edges of ASCK and PSCK respectively.
Table 4
shows the transfer order of the ADPCM output data.
In the case where there are more ASCK clocks than the
ADPCM data, the ADPCM output will recirculate.
For example, if the 32 kbps mode is selected, and eight low
pulses of ASCK exist within the CE high pulse, the following
ADPCM encoded data D3-D2-D1-D0-D3-D2-D1-D0 will ap-
pear at the TSO output (
Table 5
).
TABLE 3. Transfer Order of ADPCM Input Data (RSI). The Last Bit Prior
to the Falling Edge of CE is the LSB of the ADPCM Data
QSEL1 QSEL0 Mode Bit 5 Bit 4 Bit 3 Bit 2 Bit 1
0 0 32 kbps x D3 D2 D1 D0
0 1 24 kbps x D2 D1 D0 x
1 0 16 kbps x D1 D0 x x
1 1 40 kbps D4 D3 D2 D1 D0
(MSB) (LSB)
Note 1: x=Don’t Care state
TABLE 4. Transfer Order of ADPCM Output Data (TSO) with 4 ASCK Rising Edges
while CE is High (the First Bit is the MSB Data Bit following the Rising Edge of CE)
QSEL1 QSEL0 Mode Bit 5 Bit 4 Bit 3 Bit 2 Bit 1
0 0 32 kbps D3 D2 D1 D0 D3
0 1 24 kbps D2 D1 D0 x D2
1 0 16 kbps D1 D0 x x D1
1 1 40 kbps D4 D3 D2 D1 D0
(MSB) (LSB)
Note 2: x=unknown (but defined) state
TABLE 5. Transfer Order of ADPCM Output Data (TSO)
with 7 ASCK Rising Edges (8 Low Pulses) of ASCK while CE is High
QSEL1 QSEL0 Mode Bit 8 Bit 7 Bit 6 Bit 5 Bit 4 Bit 3 Bit 2 Bit 1
0 0 32 kbps D3 D2 D1 D0 D3 D2 D1 D0
0 1 24 kbps D2 D1 D0 x D2 D1 D0 x
1 0 16 kbps D1 D0 x x D1 D0 x x
1 1 40 kbps D4 D3 D2 D1 D0 D4 D3 D2
Note 3: x=unknown (but defined) state
SINGLE-CHANNEL INITIALIZATION AND
ALL-CHANNEL RESET
The TP11362A ADPCM processor can be initialized on a
per-channel basis via the use of INIT or on an all-channel ba-
sis via the use of RSTB. In both cases, the internal ADPCM
variables are initialized to the default values as suggested by
the ITU G.726 recommendation.
An individual channel can be initialized to the desired con-
figuration by setting the corresponding data variables PCM1,
EN, QSEL(0,1) and by asserting the INIT pin high. The con-
figuration data and INIT signal are strobed at the falling edge
of CE. For an initialization cycle, the period of CE must be 45
master clock (CLK) cycles. The transcoder is then ready to
process the next channel.
The active low RSTB signal is used for a “warm” reset as
well as for facilitating device testing. The initialization of the
internal memory takes 726 CLK cycles after the RSTB goes
inactive (logic “1”). The first transition of CE is allowed six
CLK cycles after RSTB goes inactive. It is recommended
that CE be kept low during the initialization phase.The rec-
ommended values for ASCK and PSCK during initialization
are logic “1”, and that for TSI and RSI logic “0”. Any data (TSI
and RSI) applied during the initialization phase will be lost,
however, they won’t affect the proper initialization process-
.The minimum low time of RSTB is 2 CLK cycles.
The chip resumes operation on the first negative edge of CE
after the completion of the initialization.
POWER-ON-RESET
The on-chip Power-On-Reset macro is activated when exter-
nal power is first applied to the device. It has the same func-
tion as the external RSTB pin which initializes all channels to
the default values defined in the ITU Recommendation
www.national.com 8
Functional Desc ption loonlrndedl G726. A| power up, we outpuls T50 and H50 are m TRLSTATE mode. Tnls "cold” resel process IS asynchronous and lakes applaxlmalely 2000 CLK cycles lor lne lmllallzar non. Dunng me resel process, we oulpuls T50 and R50 are H1 THLSTATE rnode, CHANNEL NOP ann onannel can be lndependemly dlsabled. wnen EN ‘5 3| logle low on me Valllng edge ol CE‘ lne ADPCM lransooder pracessmg lor lnal channel ‘5 dlsabled. Tne processor ler qulres A CLK oyoles lor CE lo malmaln all onennel venahles. Tne dale outpul porls are also placed m known slales. Aller llus me processor walls lor me next lnterrupl Pcwer l5 con served durlng lms (lme by dlsabhng me .nlernel reglslers. TSO oulpols \he lollowmg da|a afler a channel NOP TABLE 6.150 al channel NOP osELl DSELD Made TSO o o 32 kbps 0 o a o 1 2d kbps 0 o a o o ls kbps 0 o a o 1 40 kbps 0 o a o n Tne dale panem al T50 m Table aare shown wllh 3 ASCK rlsmg edges wunln lne CE hlgl’l pulse lor \he 32‘ 2d. ls kbps modes and A ASCK nslng edges wlmln lne CE hlgl’l pulse lor me 40 kbps mode lme M55 ‘5 smlled oul wlll'l lne lellmg edge ol CE), ln lne ldle case (NOP) wnere EN ‘5 low a| llre lalllng edge ol CE, lne TSO oulpul ‘5 low lor me durallcm ol me hlgl’l CE pulse ln lne .dle slale (NOF), H50 oulpuls lne lollowmg da|a (hl| represenlauon wl|h me Slgmbl‘ on me lell lollowed by me MSE, \he slgnrbfl ‘5 me llrsl on aller lne [lsmg edge ol CE) YAELE 7. R50 at channel NOP PCM1 Mode H50 0 BrBllurLaw 11111111 1 ErEllArLaw llololol
Functional Description (Continued)
G.726. At power up, the outputs TSO and RSO are in
TRI-STATE mode. This “cold” reset process is asynchronous
and takes approximately 2000 CLK cycles for the initializa-
tion. During the reset process, the outputs TSO and RSO are
in TRI-STATE mode.
CHANNEL NOP
Each channel can be independently disabled. When EN is at
logic low on the falling edge of CE, the ADPCM transcoder
processing for that channel is disabled. The processor re-
quires 4 CLK cycles for CE to maintain all channel variables.
The data output ports are also placed in known states. After
this the processor waits for the next interrupt. Power is con-
served during this time by disabling the internal registers.
TSO outputs the following data after a channel NOP:
TABLE 6. TSO at Channel NOP
QSEL1 QSEL0 Mode TSO
0 0 32 kbps 0000
0 1 24 kbps 0000
1 0 16 kbps 0000
1 1 40 kbps 00000
The data pattern at TSO in
Table 6
are shown with 3 ASCK
rising edges within the CE high pulse for the 32, 24, 16 kbps
modes and 4 ASCK rising edges within the CE high pulse for
the 40 kbps mode (the MSB is shifted out with the falling
edge of CE). In the idle case (NOP) where EN is low at the
falling edge of CE, the TSO output is low for the duration of
the high CE pulse.
In the idle state (NOP), RSO outputs the following data (bit
representation with the sign-bit on the left followed by the
MSB, the sign-bit is the first bit after the rising edge of CE):
TABLE 7. RSO at Channel NOP
PCM1 Mode RSO
0 8-Bit µ-Law 11111111
1 8-Bit A-Law 11010101
9 www.national.com
Absolute Maximum Ra gs (Nole 'NO TGT. FNXrei NSOASS') II MIIIIary/Aeraspace specIIIed devIces are required. pleas! counsel lhe Nalinnal Semiconduclm Sales Oflica/ Distributors lor avallabllily and specifications. vcc Io GND 7v VoIIage aI Any DIgIIaI Inpms or Outpuis GND 7 0 3V Io vcc + 0 av DC Electrical Characteristics srorage Temperame Range Lead Temperaiure (soldenng, 10 sec) LaIcnup Immunny on any PIn 04A {281m PLCC) 04A {247nm DIP) rAEVC Io A250 3000 :75 mA 7aVc/w AaVc/w unIess mherwIse nored, IImIIs pnnIed in bold charadevs are guarameed Iorvcc s 5 0v 1 5%, GNDI = GND2 s W, TA e 7400 Id .050 by ooneIauon mm 100% eIeoInoaI (esilng aI TA s 250 AII omer IImI|s are assured by oorreIauon mm are pruducmn Iesrs and/er produci desrgn and characienzaucn TypIcai vaIues are spedIIed aI VCC = s5v, TA . 25'c Symbol Paramerer condIIIons Min Typ Max unIrs ICC” SuppIy Currem CLK = 0 0 MHz HSTB = Low 1.0 mA IPower Down Mode) ICC, SuppIy Currem CLK = 0 0 MHz HSTB = HIgh 7 9 mA IPower Up Mode) FD Fewer DISSIpaIIon 35 mW er Inom Low VoIIage ASCK, FSCK CE, THE, 0.0 v v,H Inom HIgh VoIIage CLK, RSTE 2.0 V W Inom Low VoIIage PcMI HSI TSI, OSELO, n.7 v v,H Inom HIgh VoIIage osELI, INIT, EN 2.0 v v0L 00mm Law Manage IL = 4 mA 0.4 v vON 00mm HIgh VoIIage I ,4 mA 2.0 v IL . 70 4 mA, vcc . A 75v vac _ 0.3 v I,L Inom Low CurrenI GND < v,n="">< v,l="" ah="" signai="" |npu|s="" —m="" m="" im="" inom="" high="" curreni="" vm="">< v,n="">< vcc="" ali="" signai="" inputs="" 10="" 0a="" tes|="" inputs="" tstd="" tsti,="" tst2="" (noie="" a)="" 150="" 0a="" ioz="" 00mm="" correnr="" in="" high="" gnd="">< v0="">< vcc,="" t50="" and="" r50="" —id="" 10="" m="" impedance="" siaie="" c,="" inom="" capacnance="" i0="" pf="" 00="" 00mm="" capacnance="" i0="" pf="" cl="" capacmve="" load="" i00="" pf="" no!-="" a:="" test="" mums="" nm="" inmmai="" duh="" dawn="" msismv="" timing="" specifications="" uniess="" otherwise="" noied,="" iimiis="" pnnred="" in="" bold="" characiers="" are="" guaranreed="" ior="" vcc="5" 0v="" i="" 5%,="" gndi="" s="" gnd2="" .="" 0v="" ta="" _="" 740‘s="" re="" +050="" by="" carrelahon="" wnn="" 100%="" eiecincai="" |esmg="" ai="" ta="" 25‘s="" aii="" oiner="" rmns="" are="" assured="" by="" coneiamn="" wlih="" omer="" omduouon="" iesis="" andor="" product="" design="" and="" charactenzamn="" typlcal="" vaiues="" are="" specmed="" ai="" vcc=".av," ta="" a="" 250="" symbol="" parameter="" commons="" mln="" yyp="" max="" uniis="" iclk="" clk="" frequency="" (noie="" 5)="" assummg="" 50%="" duty="" cycle="" 7="" a="" 0.0="" is="" mhz="" iclk="" clk="" duterycle="" a0%="" 50%="" 50%="" clk="" pendd="" ir="" rise="" trme="" iclk,="" ce,="" i0="" ns="" asck,="" fsck)="" if="" faii="" time="" (clk,="" ce="" i0="" ns="" asck,="" fsck)="" icep="" ce="" penod="" encode="" or="" decode="" i23="" clk="" iniiiaiizaiion="" a5="" cones="" disabie="" 9="" im="" ce="" pulse="" worn,="" low="" 4="" clk="" cones="">
Absolute Maximum Ratings (Note *NO
TGT: FNXref NS0465*)
If Military/Aerospace specified devices are required,
please contact the National Semiconductor Sales Office/
Distributors for availability and specifications.
V
CC
to GND 7V
Voltage at Any Digital
Inputs or Outputs GND 0.3V to V
CC
+ 0.3V
Storage Temperature Range −45˚C to +125˚C
Lead Temperature
(Soldering, 10 sec) 300˚C
Latch-up Immunity on any Pin ±75 mA
θ
JA
(28-pin PLCC) 79˚C/W
θ
JA
(24-pin DIP) 49˚C/W
DC Electrical Characteristics
Unless otherwise noted, limits printed in bold characters are guaranteed forV
CC
=5.0V ±5%, GND1 =GND2 =0V, T
A
=
−40˚C to +85˚C by correlation with 100%electrical testing at T
A
=25˚C. All other limits are assured by correlation with other
production tests and/or product design and characterization. Typical values are specified at V
CC
=+5V, T
A
=25˚C.
Symbol Parameter Conditions Min Typ Max Units
I
CC0
Supply Current CLK =8.0 MHz, RSTB =Low 1.8 mA
(Power Down Mode)
I
CC1
Supply Current CLK =8.0 MHz, RSTB =High 7 9mA
(Power Up Mode)
P
D
Power Dissipation 35 mW
V
IL
Input Low Voltage ASCK, PSCK, CE, TRB, 0.8 V
V
IH
Input High Voltage CLK, RSTB 2.4 V
V
IL
Input Low Voltage PCM1, RSI, TSI, QSEL0, 0.7 V
V
IH
Input High Voltage QSEL1, INIT, EN 2.0 V
V
OL
Output Low Voltage I
L
=4mA 0.4 V
V
OH
Output High Voltage I
L
=−4 mA 2.4 V
I
L
=−0.4 mA; V
CC
=4.75V V
CC
0.8 V
I
IL
Input Low Current GND <V
IN
<V
IL
, All Signal Inputs −10 µA
I
IH
Input High Current V
IH
<V
IN
<V
CC
, All Signal Inputs 10 µA
Test Inputs TST0, TST1, TST2 (Note 4) 150 µA
I
OZ
Output Current in High GND <V
O
<V
CC
, TSO and RS0 −10 10 µA
Impedance State
C
I
Input Capacitance 10 pF
C
O
Output Capacitance 10 pF
C
L
Capacitive Load 100 pF
Note 4: Test inputs have internal pull-down resistor.
Timing Specifications
Unless otherwise noted, limits printed in bold characters are guaranteed for V
CC
=5.0V ±5%, GND1 =GND2 =0V, T
A
=
−40˚C to +85˚C by correlation with 100%electrical testing at T
A
=25˚C. All other limits are assured by correlation with other
production tests and/or product design and characterization. Typical values are specified at V
CC
=+5V, T
A
=25˚C.
Symbol Parameter Conditions Min Typ Max Units
f
CLK
CLK Frequency (Note 5) Assuming 50%Duty Cycle 7.9 8.0 16 MHz
t
CLK
CLK Duty-Cycle 40%50%60%CLK
Period
t
R
Rise Time (CLK, CE, 10 ns
ASCK, PSCK)
t
F
Fall Time (CLK, CE, 10 ns
ASCK, PSCK)
t
CEP
CE Period Encode or Decode 123 CLK
Initialization 45 Cycles
Disable 9
t
CEL
CE Pulse Width, Low 4CLK
Cycles
www.national.com 10
Timing Specifications {Conunued} Umess omemse no|ed hmus prmted m bold charamers are guaranteed Ter VCC = 5 av 1 5%, GND1 a GND2 nv, TA 740's (0 +550 by curre\a\|on mm 100% eTecmeaI lestmg at TA a 250 AH other hmns are assured by eenelamn mm emer proeeeuen (esTs ammm pmduct dawn and charadeuzahon TypTeaI vames are speemed at VCC = +5v, TA a 290 Symbol Parameler Condlllons Mln Typ Max Unlls (Hum How We CE low aher me CE Low 15 ns PSCK’ASCK Men (MEN Semp TTme, CE Men Eeiore me CE Low 15 ns PSCK’ASCK Law (we TRB Hem Tme me CE Low 2n ns (was THE Setup TTme me ASCK Low ane FSCK Low 2n ns (,5 T5, RSI semp TTme me ASCK Low ane FSCK Low 2n ns (M T5T, RSI Hold Time me ASCK Low ane FSCK Low 2n ns 1mm“ PSCK’ASCK Men and 55 ns Low TTmes (0N T50, RSO Tum On Tme me CE Hen 4n ns (OD T50, RSO onpagamn me ASCK Hugh er PSCK HTgn 4n ns DeTay We 10,; T50, RSO Tum on Tme me CE Low 2n ns wane Dam (a TRIVSTATE) (:5 Semp me Im comm me CE Low sTgnaTs (MT, EN 2n ns PCM1,0SEL1 QSELO) to, How We my Conuo‘ me CE Low sTgnaTs (MT, EN 2n ns PCM1,0SEL1 QSELO) (Rm HSTB Pulse wTem Lew 2 CLK Cyc‘es (we HSTB High To me Fursl a CLK CE HighrLow Transmcn Cyc‘es mu. 5: me; my 3 mu duwux Idncndmg m meemm m a raw deem Idncadmg or cnmdmm mm; upcraunn m a ‘25 us emu
Timing Specifications (Continued)
Unless otherwise noted, limits printed in bold characters are guaranteed for V
CC
=5.0V ±5%, GND1 =GND2 =0V, T
A
=
−40˚C to +85˚C by correlation with 100%electrical testing at T
A
=25˚C. All other limits are assured by correlation with other
production tests and/or product design and characterization. Typical values are specified at V
CC
=+5V, T
A
=25˚C.
Symbol Parameter Conditions Min Typ Max Units
t
HDCEL
Hold Time, CE low after From CE Low 15 ns
PSCK/ASCK High
t
SUCEH
Setup Time, CE High Before From CE Low 15 ns
PSCK/ASCK Low
t
TRBH
TRB Hold Time From CE Low 20 ns
t
TRBS
TRB Setup Time From ASCK Low and PSCK Low 20 ns
t
IS
TSI, RSI Setup Time From ASCK Low and PSCK Low 20 ns
t
IH
TSI, RSI Hold Time From ASCK Low and PSCK Low 20 ns
t
PSCK/ASCK
PSCK/ASCK High and 55 ns
Low Times
t
ON
TSO, RSO Turn On Time From CE High 40 ns
t
OD
TSO, RSO Propagation From ASCK High or PSCK High 40 ns
Delay Time
t
OFF
TSO, RSO Turn Off Time From CE Low 20 ns
(Valid Data to TRI-STATE)
t
CS
Setup Time for Control From CE Low
Signals (INIT, EN, 20 ns
PCM1, QSEL1, QSEL0)
t
CH
Hold Time for Control From CE Low
Signals (INIT, EN, 20 ns
PCM1, QSEL1, QSEL0)
t
RSTL
RSTB Pulse Width Low 2 CLK
Cycles
t
RSTH
RSTB High to the First 6 CLK
CE High-Low Transition Cycles
Note 5: Values for 4 full-duplex (decoding and encoding) or 8 half-duplex (decoding or encoding) channels operation in a 125 µs period.
11 www.national.com
Timing Specifications (Cummued) Es: Sunni .u manor. 1? r; o r a. ,1} iii; 3} r\ E, i i 1/ \ E / \ / \ » 2,: :2 E: :2 ICICIC E. E. oidmo .23 5:76 B: omk Em xum< 0mm="" ,5="" 5e="">
Timing Specifications (Continued)
DS012877-8
FIGURE 6. ADPCM Timing
www.national.com 12
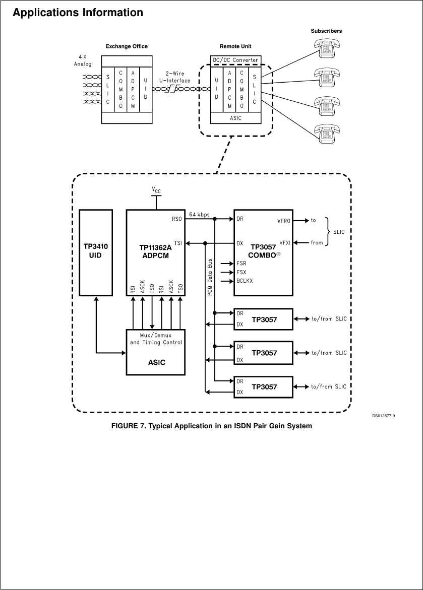
Applications Information Emnlflv: emu .x c I W, m 5 D D \l Ur‘MerIace W: I p I >0): C E C D D I mm IIIIII sub-mm" I I I I I m DR mm _..o : SUE I I 11:3an TPIISsQAm m “3057 ver ‘—Imm I : UID ADPCM COMBO' : I é —> rsn I I 3 —> rsx I 5 O 3 O a —> saw I I E 's E E 4 a 5 I I l I I I I DR I I TP3057 H m/Irnm SUC I I W I Mux/Demux I m mm"; mm DR I TP3057 <—> III/m 5U: : I ASIC m I I I I an I ' TP3057 Him/Hum m I m . I I FIGURE 7. 'IypIcal AppIIcaIIon In an ISDN PaIr Galn System
Applications Information
DS012877-9
FIGURE 7. Typical Application in an ISDN Pair Gain System
13 www.national.com
Applications Information (Cummued) r ‘ ‘ ‘ ‘ ‘ )SCK/BCLKX / x ‘ ‘ ‘ l , WSW W @namaanmo , BCLKX/ASCK W ‘n ‘5‘ «Mancunian» Now. a: m aw cm at as can he :dmsmd m mam m dmnmm PcM am m mm m we comm Nov. 7: m Dx m amnm ‘5 5mm" wwh me my van"; Sync mm m mm dau mung mom-‘1 FIGURE 3. Example 0! a nmlng Inlerlace helween an mum and a COMBO
Applications Information (Continued)
DS012877-10
Note 6: The duty cycle of CE can be adjusted to adapt to different PCM data bit clocks of the COMBO.
Note 7: The DX data output is shown with the long frame sync mode (non-delayed data timing mode).
FIGURE 8. Example of a Timing Interface between an ADPCM and a COMBO
www.national.com 14
Physical Dimensions mas (minimums) unless omerwlse noted I 10er m 4115742 2m mammwmmmmmmmi, ‘ 1 nm ‘ l “-315; i "mm; 1 mm 1:1 mi m. ”nm\ ‘ . i . . mmmmmmmmmwmw ualrsnaunmis mmmmm ansnlonvwwrlcunnmn mm mm m , Iwwruml m m ‘T unusual i uszu g A #, 1i " ‘5 #322132, was , "mm-us ‘ nnwnmi ’ 41 5.151335 ' warm _ mu... ‘ Rsuznzw 24»Lead (0.600" Wide) Molded Dual-In-une Package Order Number TPIIJBZAN NS Package Number N2IA
Physical Dimensions inches (millimeters) unless otherwise noted
24-Lead (0.600" Wide) Molded Dual-In-Line Package
Order Number TP11362AN
NS Package Number N24A
15 www.national.com
TP11362A Quad Adaptive Different al PCM Processor Physical Dimensions Inches IiiiiiiiiiietersI uniess otherwise nuied (Cummued) .n m ennno .n IE [it uan ntsa PIN vi mm ‘5‘ " [i H] I 25 n 0292i) mm, [0 ma ID] In moasi 1 25 L: i is ”i 1:“qu i‘l [I17] am TVP—. iTezi nuts tsn x , Ii H] i? Isa-a wow [I ie-t 57] 0 mm 005 Iiz mo izI "P ZE-Lead Molded Plastic Leaded chip Carrier Order Number TPiuezAv NS Package Number vzaA LIFE SUPPORT POLICY tints i‘lnlnanmwp DAIMHDZD w [intimsi] P [SEATING mu: um - ‘ Iiiri it» In iii a instauisw Luna 3!} a cum [0 NATIONAL'S PRODUCTS ARE NOT AUTHORIZED FOR USE AS CRITICAL COMPONENTS IN LIFE SUPPORT DE- VICES OR SYSTEMS WITHOUT THE EXPRESS WRITTEN APPROVAL OF THE PRESIDENT OF NATIONAL SEMI- CONDUCTOR CORPORATION. As used herein 1. Lite support devices oi systems are devices or sys- 2. A critical component in any cphipohentoi z Iiie support terns which, (a) are intended tor sulgicai Impiznl into device or system whose iaiiure to penorhi can be vea- the body‘ oi (m support 0! sustain Me and whose iaii- sonzbly expected to cause the iaiiure at the iiie support ure to periorm when properiy used in accordance device or system prtp aiiect its sziety or eiiectiveriess, with instructions tor use pvovIded in the labeiing‘ can be veasonabiy expecled to resuit in a signiiicaht mum is the user, Naimnai somicuntluclar Nalinnal smcmm. Mali-mm summon" cam-2mm" some. mic KEN; ufl. smeiisss m «QIOIIEDSZIDESEE inhrissi sirsiehieiest Yei iaaczrziese Emsii ewe-sweaiiehssm omiicehiie scshishhs Fix IEnn7JT7DI! mum Yei «eiuiicomsscs rmhsisui Kwiseh mi suppohtehssssm wish Yei .teiniaosazmz HOWKDR! rishssis Yei «QIOIIEDSIIZMSE Tei isszi 27171600 wwwnaiinnaiwm iisiim Yei .tein i anfiaoisau m iafiziznsagsn Hflinnal Smicnnfluflul Japan tut. r.i ti 3 552a 5175 Fax 311 am 517‘!
Physical Dimensions inches (millimeters) unless otherwise noted (Continued)
LIFE SUPPORT POLICY
NATIONAL’S PRODUCTS ARE NOT AUTHORIZED FOR USE AS CRITICAL COMPONENTS IN LIFE SUPPORT DE-
VICES OR SYSTEMS WITHOUT THE EXPRESS WRITTEN APPROVAL OF THE PRESIDENT OF NATIONAL SEMI-
CONDUCTOR CORPORATION. As used herein:
1. Life support devices or systems are devices or sys-
tems which, (a) are intended for surgical implant into
the body, or (b) support or sustain life, and whose fail-
ure to perform when properly used in accordance
with instructions for use provided in the labeling, can
be reasonably expected to result in a significant injury
to the user.
2. A critical component in any component of a life support
device or system whose failure to perform can be rea-
sonably expected to cause the failure of the life support
device or system, or to affect its safety or effectiveness.
National Semiconductor
Corporation
Americas
Tel: 1-800-272-9959
Fax: 1-800-737-7018
Email: support@nsc.com
www.national.com
National Semiconductor
Europe Fax: +49 (0) 1 80-530 85 86
Email: europe.support@nsc.com
Deutsch Tel: +49 (0) 1 80-530 85 85
English Tel: +49 (0) 1 80-532 78 32
Français Tel: +49 (0) 1 80-532 93 58
Italiano Tel: +49 (0) 1 80-534 16 80
National Semiconductor
Hong Kong Ltd.
13th Floor, Straight Block,
Ocean Centre, 5 Canton Rd.
Tsimshatsui, Kowloon
Hong Kong
Tel: (852) 2737-1600
Fax: (852) 2736-9960
National Semiconductor
Japan Ltd.
Tel: 81-3-5620-6175
Fax: 81-3-5620-6179
28-Lead Molded Plastic Leaded Chip Carrier
Order Number TP11362AV
NS Package Number V28A
TP11362A Quad Adaptive Differential PCM Processor
National does not assume any responsibility for use of any circuitry described, no circuit patent licenses are implied and National reserves the right at any time without notice to change said circuitry and specifications.

Products related to this Datasheet

IC TELECOM INTERFACE 28PLCC